EasyManua.ls Logo

Thermo Scientific DensityPRO+ - Page 94

Thermo Scientific DensityPRO+
107 pages
Print Icon
To Next Page IconTo Next Page
To Next Page IconTo Next Page
To Previous Page IconTo Previous Page
To Previous Page IconTo Previous Page
Loading...
Drawings
C-40 DensityPRO+ Installation Guide Thermo Fisher Scientific
Figure
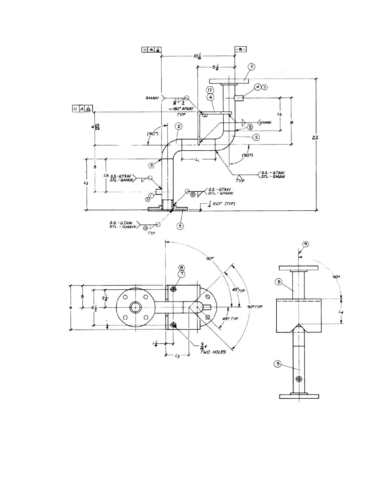
C–37. 861104: Fabrication details, 1” to 3” Z-pipe section (sheet 2 of 2)

Related product manuals