EasyManua.ls Logo

Thermo Scientific DensityPRO+ - Page 95

Thermo Scientific DensityPRO+
107 pages
Print Icon
To Next Page IconTo Next Page
To Next Page IconTo Next Page
To Previous Page IconTo Previous Page
To Previous Page IconTo Previous Page
Loading...
Drawings
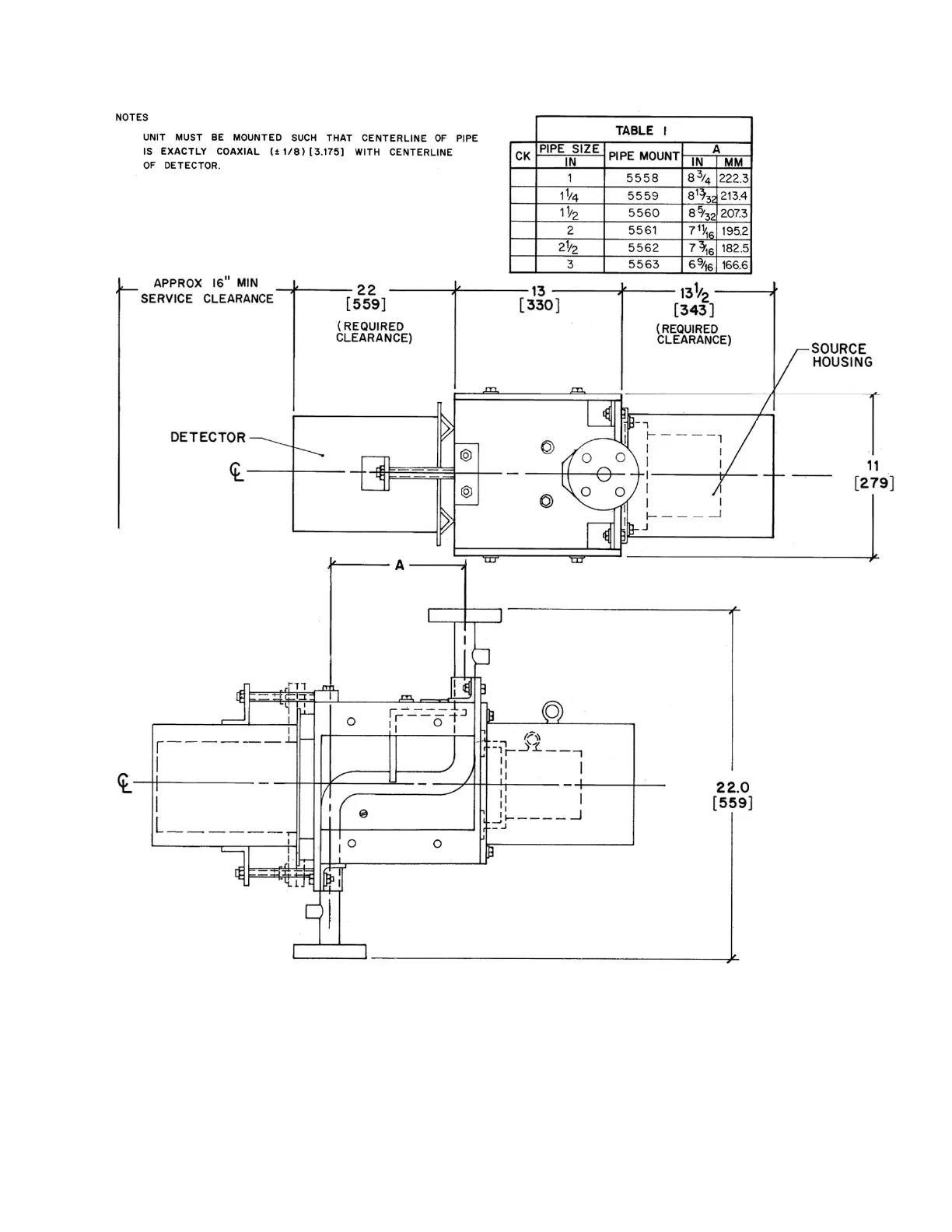
Figure C–38. 866670: Mounting dimensions, 1” to 3” Z-pipe mount (sheet 1 of 1)
Thermo Fisher Scientific DensityPRO+ Installation Guide C-41

Related product manuals