EasyManua.ls Logo

TIPTEL 333 - Page 10

TIPTEL 333
48 pages
Print Icon
To Next Page IconTo Next Page
To Next Page IconTo Next Page
To Previous Page IconTo Previous Page
To Previous Page IconTo Previous Page
Loading...
Service
9
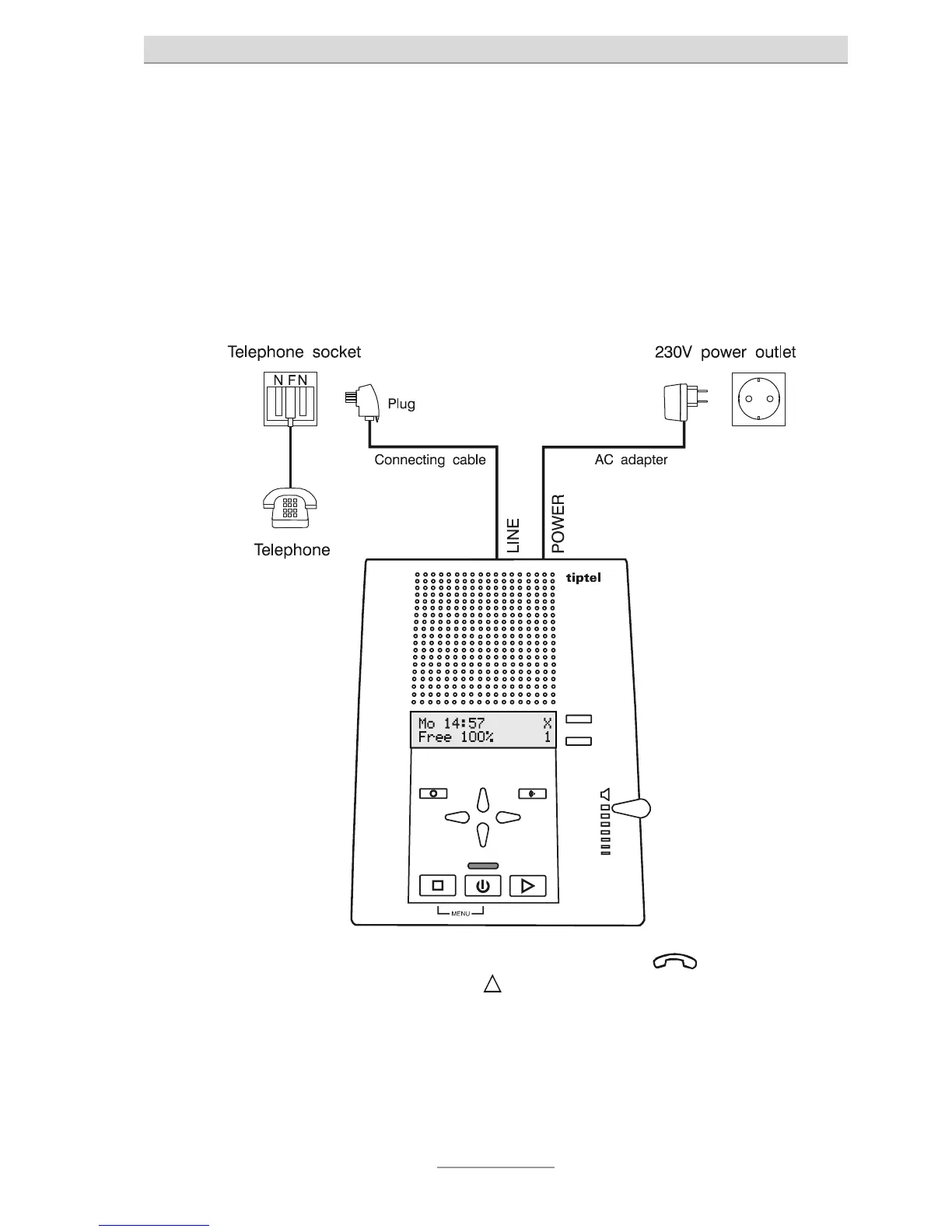
Socket with several slots
1 Plug the existing telephone into the socket (slot F).
2 Insert the power supply unit with the small connector into the
POWER jack and then insert the power supply unit into a 230V
wall socket.
3 Insert the TAE adaptor into the free end of the connection cable.
4 Insert the second free end of the connection cable into the LINE
jack, and insert the TAE adaptor into the socket (slot N).
In Austria, slot F corresponds to this symbol: and slot N
corresponds to this symbol:
. Use the enclosed TST adaptor
in place of the TAE adaptor.
In Switzerland, a T+T83 A12 socket should be used, into
which you should insert the enclosed T+T connection cable.
If required, use an A6 adaptor in place of an A12 adaptor.

Related product manuals