EasyManua.ls Logo

Topcon RM-8900 - Printer Paper Setting

Topcon RM-8900
92 pages
Print Icon
To Next Page IconTo Next Page
To Next Page IconTo Next Page
To Previous Page IconTo Previous Page
To Previous Page IconTo Previous Page
Loading...
53
PREPARATIONS
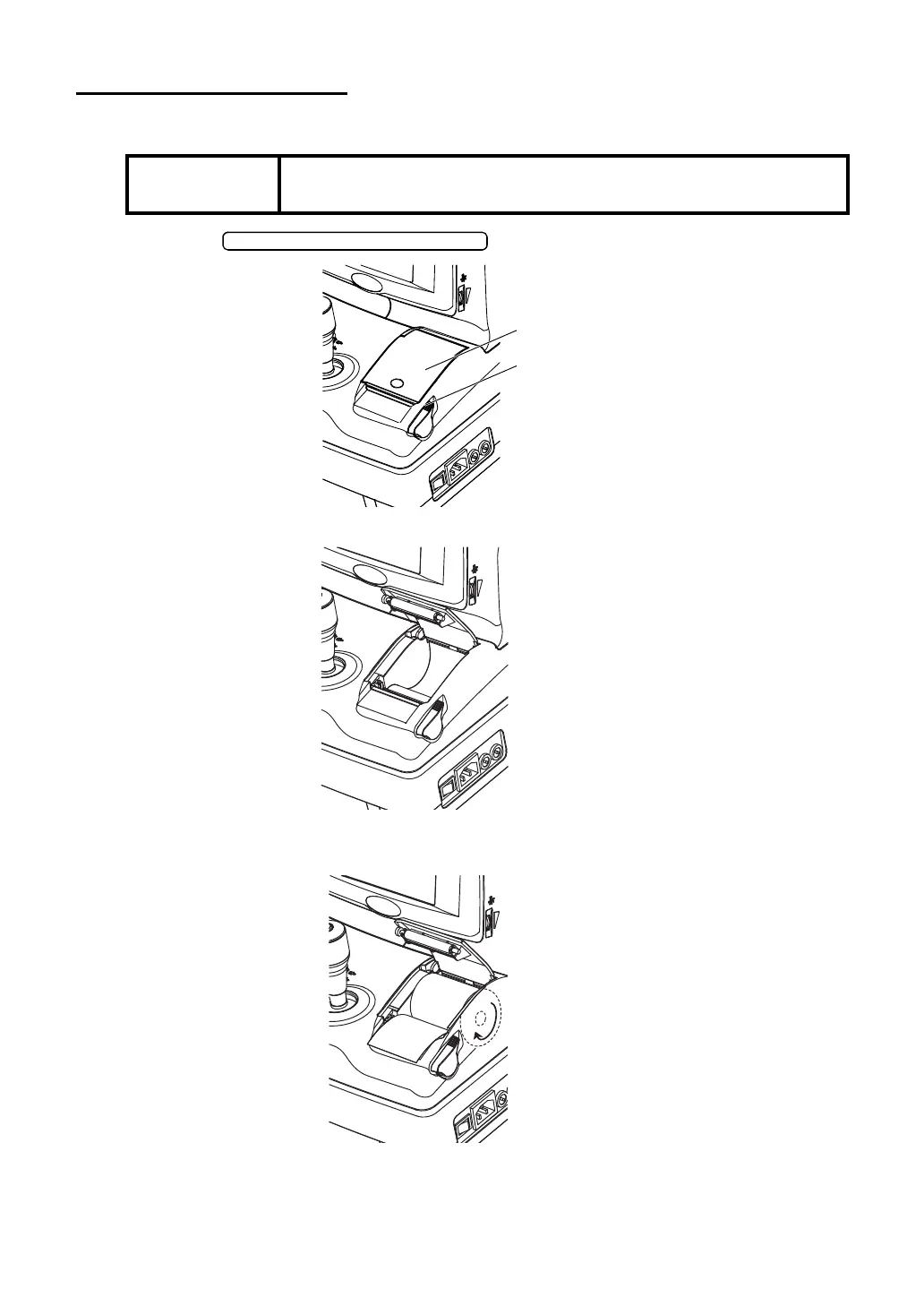
PRINTER PAPER SETTING
1 Press the to open the printer cover.
2 Open the printer cover to the utmost limit.
3 As taking care for the winding direction, load the paper into the printer and pull out the
paper end to your side by 7 to 8cm.
NOTE:
Note that printing cannot be done if the paper back faces up by set-
ting the roll in opposite direction.
PRINTER COVER OPEN SWITCH
Printer cover
Printer cover open switch
Roll direction

Related product manuals