EasyManua.ls Logo

Trident DRYSPELL PLUS 10 - Servicing the Bottom Shuttle

Trident DRYSPELL PLUS 10
70 pages
Print Icon
To Next Page IconTo Next Page
To Next Page IconTo Next Page
To Previous Page IconTo Previous Page
To Previous Page IconTo Previous Page
Loading...
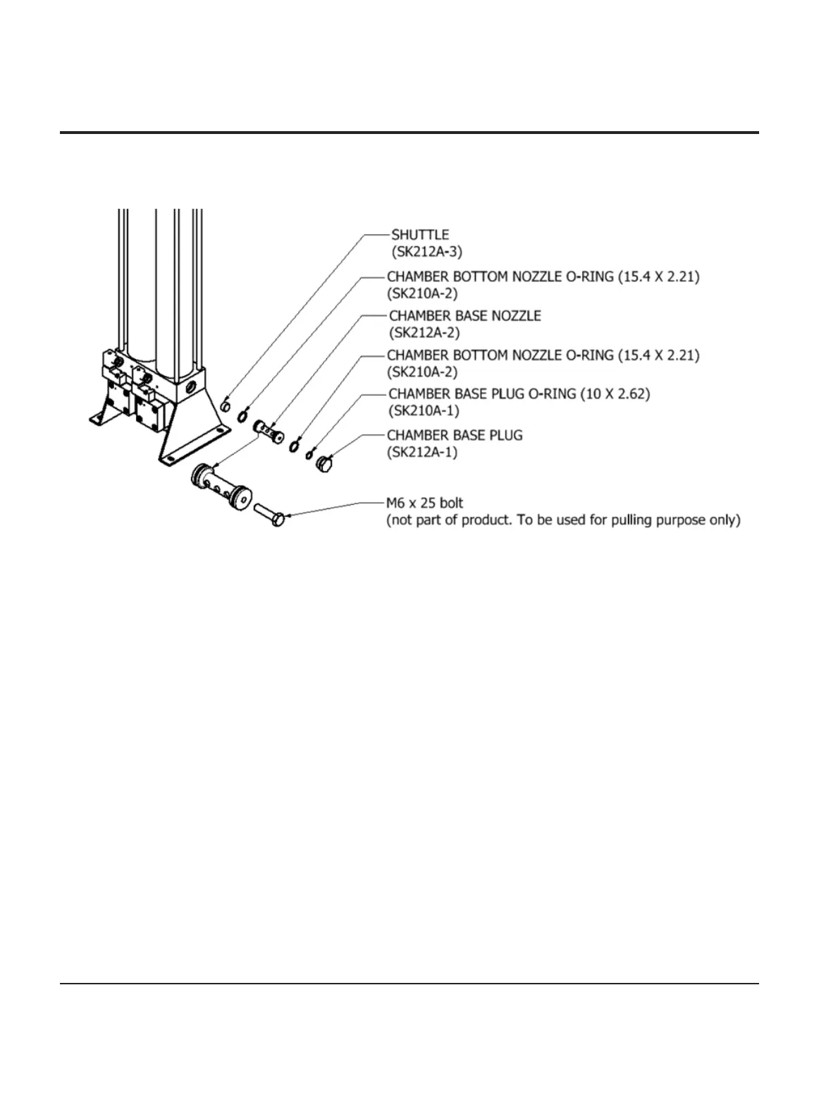
8.5.1.2 Servicing the bottom shuttle
Figure 10. Exploded view of bottom shuttle of Dryspell Plus 10
l Remove the chamber base plug (use spanner no. 21)
l Remove the chamber base plug O-ring (10 mm * 2.62 mm). Discard the ring
l Replace it with a new O-ring (10 mm * 2.62 mm)
l Pull out the chamber base nozzle using an M6 * 25 bolt
l Remove the nozzle O-rings (15.4 mm * 2.21 mm, two) and discard them
l Clean the chamber base nozzle and replace the two O-rings (15.4 mm * 2.21 mm, two)
l Remove the shuttle and discard it
l Replace it with a new shuttle
l Coat the nozzle and all the O-rings with food-grade grease
l Fasten an M6 * 25 bolt in the chamber base nozzle and draw the bolt out
l Secure the chamber base plug with O-rings (15.4 mm * 2.21 mm and 10 mm * 2.62 mm)
INSTRUCTION MANUAL - Dryspell Plus
Reference : Manual Version
20

Table of Contents

Related product manuals