EasyManua.ls Logo

Waters ACQUITY Arc System - Page 56

Waters ACQUITY Arc System
86 pages
Print Icon
To Next Page IconTo Next Page
To Next Page IconTo Next Page
To Previous Page IconTo Previous Page
To Previous Page IconTo Previous Page
Loading...
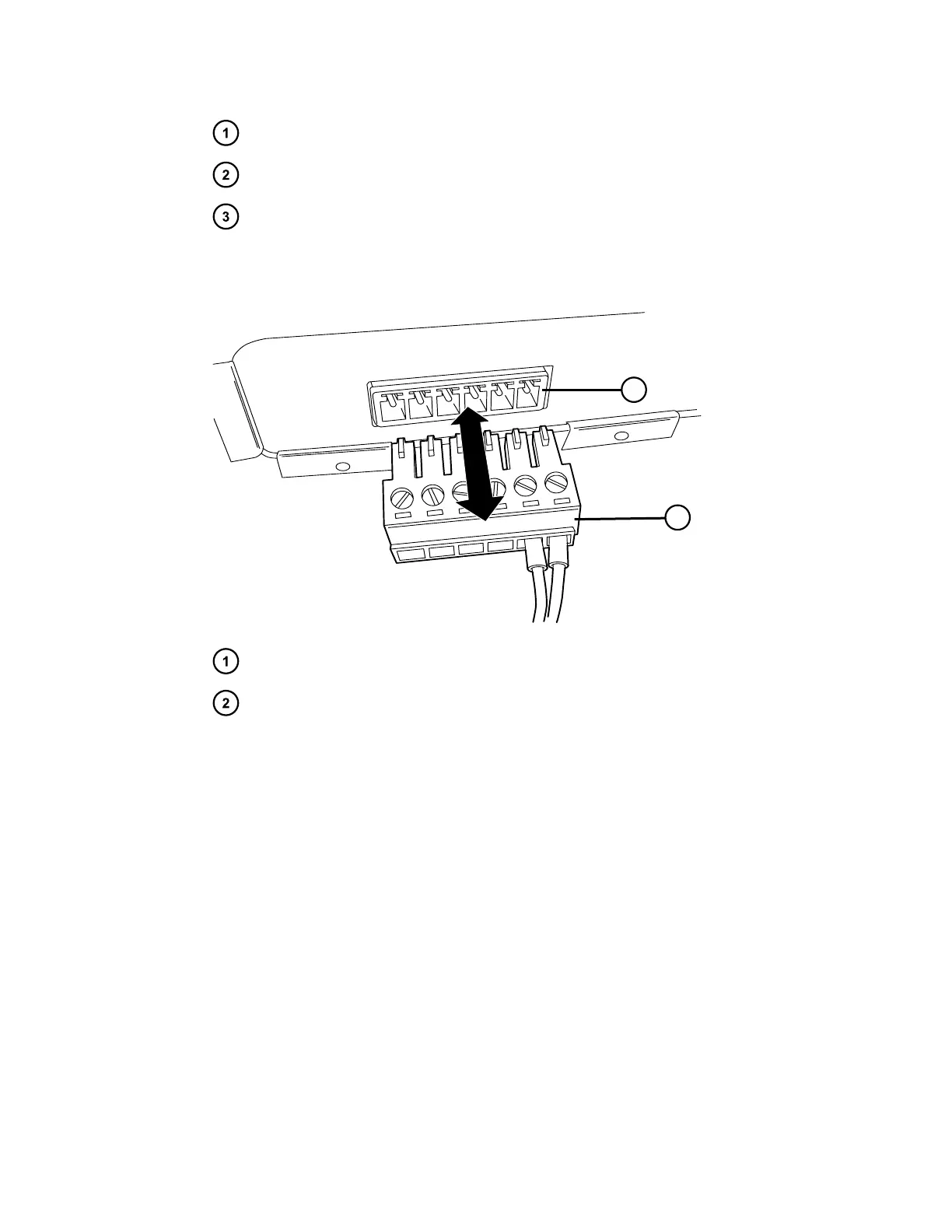
Screw
Connector
Signal cable
2. Insert the connector into the connector port on the instrument's rear panel.
Figure 5–5: Inserting connector into connector port
1
2
Connector port
Connector
3. Fit the grounding cable's fork terminal on the rear-panel grounding stud, and
secure the terminal using the locking nut.
Note: Use the 9/32-inch nut driver to tighten the locking nut until the terminal
does not move.
June 12, 2015, 715004747 Rev. A
Page 56

Table of Contents

Related product manuals