EasyManua.ls Logo

Whirlpool Cassinetta - Page 42

Whirlpool Cassinetta
78 pages
Print Icon
To Next Page IconTo Next Page
To Next Page IconTo Next Page
To Previous Page IconTo Previous Page
To Previous Page IconTo Previous Page
Loading...
42
ICE WATER VALVE MANAGEMENT:
The icemaker water valve will be automatically controlled and driven by the
Main Board!
The flow rate for the icemaker water valve is: 1,51 liters per minute.
Opening time of the icemaker water valve is: 5 seconds = ~100cc (+/- 3cc)
Ice valve ALARM indication for opening time: < 20 seconds
Water pressure range with filter cartridge: 2,07 bar till 8,27 bar
Water pressure range without filter cartridge: 1,38 bar till 8,27 bar
GENERAL REQUIREMENTS:
Supply voltage ( nominal ) : 12V
Motor power dissipation : 8 W
Ice production per day : 0,8kg
Condition to start ice production: -9°C ambient temperature for min. 2 hours
Condition to stop ice production: -10°C temperature in the mould (ice-sensor)
The ice cube extracting will be managed only by twisting (no heating element inside).
The “Ice-Full” arm turns every 2 hours in the down position (30°C). In this case the
internal contact inside of the icemaker, gave a signal to the main board. The signal means,
that the ice production can go ahead. If the arm can’t go complete down, while the ice cube
doesn’t allow this, the feedback signal is missing and the ice production will be stopped.
The icemaker check can be done only with the “Built-In test routine”!!
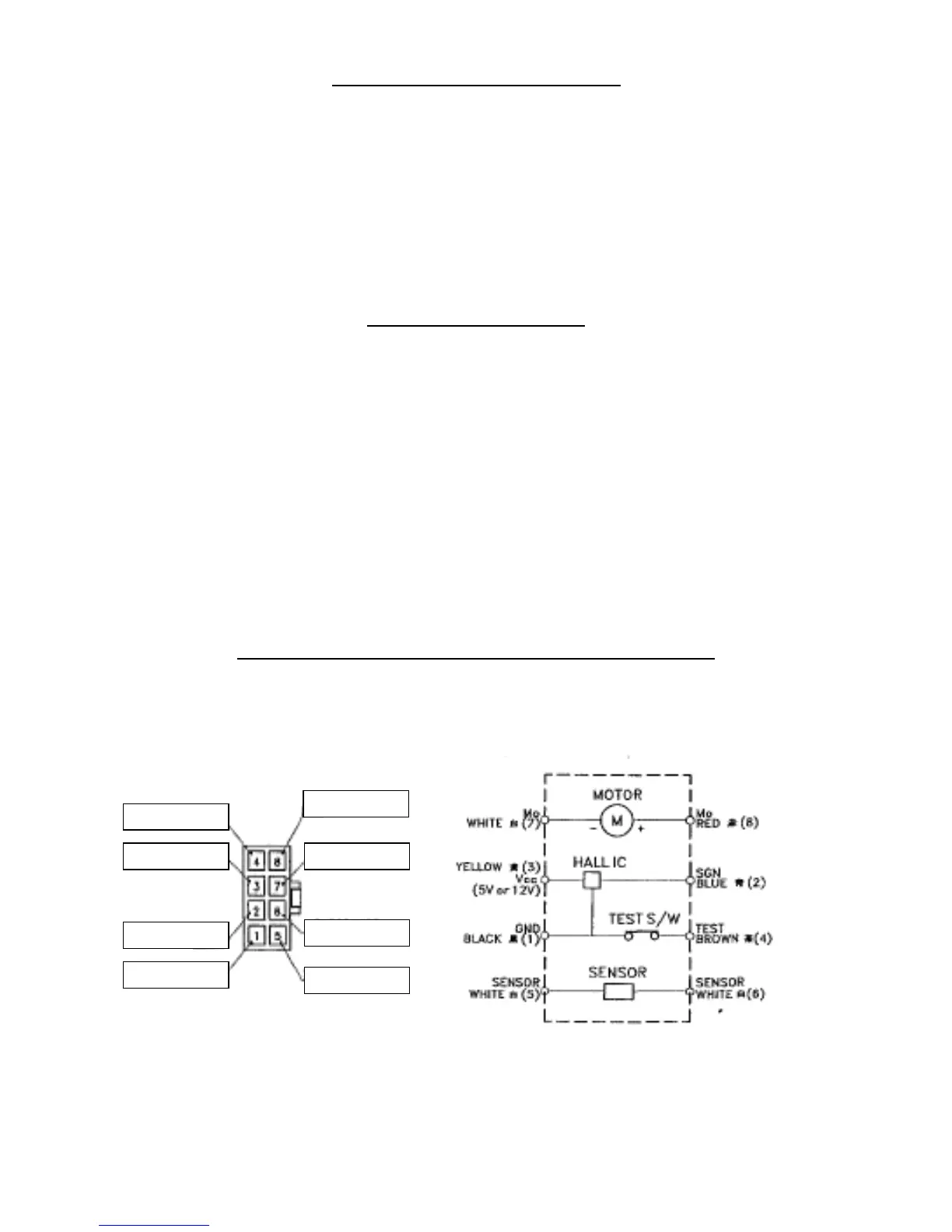
CONNECTOR OUTPUT PINS & INTERNAL WIRING DIAGRAMM
4 BROWN
3 YELLOW
2 BLUE
1 BLACK
5 SENSOR
6 SENSOR
7 WHITE
8 RED

Table of Contents

Related product manuals