EasyManua.ls Logo

Xinje DS3E Series - Page 62

Xinje DS3E Series
152 pages
To Next Page IconTo Next Page
To Next Page IconTo Next Page
To Previous Page IconTo Previous Page
To Previous Page IconTo Previous Page
Loading...
60
3. The switch time between BK signal and SON signal
If the machine moves slightly due to gravity because of the brake has action delay time. Please adjust
the time as below parameter.
P5-07
Servo OFF delay time (brake command)
Unit
Default
Range
Suitable mode
Modify
Effective
1ms
0
0~65535
All the modes
Servo OFF
Immediately
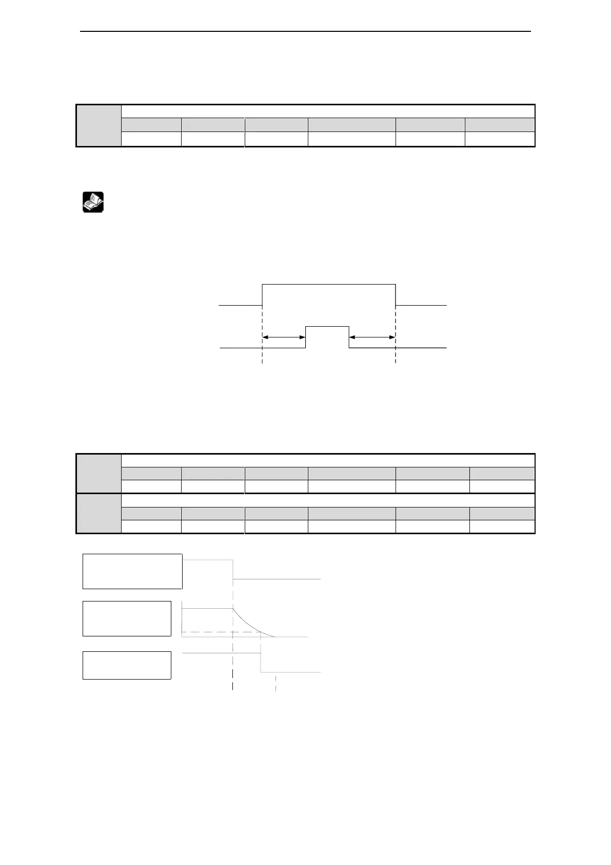
P5-07 Meaning: delay the time P5-07 to release the brake when the enable is ON.
When the enable is OFF and the signal is true, lock the brake and delay the time P5-07 then close the
enable.
this setting is rotation detection TGON invalid time when motor stop.
The following diagram is the brake control output signal /BK and servo SON signal act time when
using the servo motor with brake.
Before outputting /BK to release the brake, servo already power on; after not output /BK and brake is
ON, servo is OFF.
/S-ON
input
/BK output
Servo ON
delay
P5-07 release
brake
Servo OFF
ahead
P5-07 lock
brake
4. Brake ON parameter (When servo motor is rotating)
The motor will power OFF when alarm occurs. The machine will move as gravity until the brake
action.
Set below parameters in order to use brake when motor speed decreases to setting value or waiting time
ends.
Set the brake time when servo OFF caused by /S-ON signal or alarm.
The brake is used to protect the position. The brake must be effective at suitable time when servo motor
stop. Users can adjust the parameters according to the machine action.
The /BK signal from ON to OFF under either of the following conditions:
1. Motor speed drops below the value of P5-08 after servo OFF.
2. over the time of P5-09 after servo OFF.
P5-08
Brake command output speed
Unit
Default
Range
Suitable mode
Modify
Effective
rpm
30
0~10000
All the modes
Any
Immediately
P5-09
Brake command waiting time
Unit
Default
Range
Suitable mode
Modify
Effective
1ms
500
0~1000
All the modes
Servo OFF
Immediately
/S-ON input or alarm
Occurs power off
Motor speed
rpm
/BK output
P5-08
Servo ON
Servo OFF
Brake ON
Brake OFF
P5-09
DB stop
Free stop

Table of Contents

Other manuals for Xinje DS3E Series

Related product manuals