EasyManua.ls Logo

Yaesu VX-8DR - GPS Operation

Yaesu VX-8DR
176 pages
Print Icon
To Next Page IconTo Next Page
To Next Page IconTo Next Page
To Previous Page IconTo Previous Page
To Previous Page IconTo Previous Page
Loading...
VX-8DR OPERATING MANUAL74
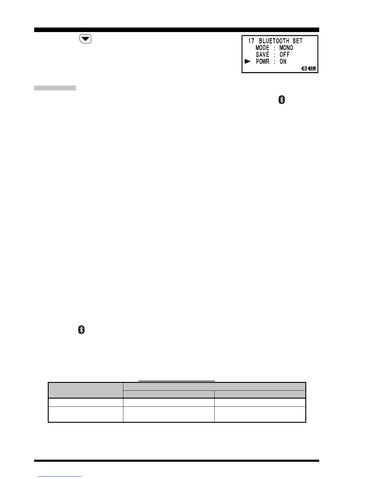
Press the key, then rotate the DIAL knob to select the
POWR” parameter to “OFF”.
8. Press the PTT switch of the VX-8DR to save the new set-
ting and return to normal operation.
OPERATION
1. When the BH-1A
(
or BH-2A
)
is correctly recognized by the VX-8DR, “ ” icon will
appear on the display of the VX-8DR and the LED indicator of the BH-1A
(
or BH-
2A
)
will blink blue.
2. Adjust the receiver audio level using the
[
VOLUME
(
+
)]
/
[
VOLUME
()]
switches on
the BH-1A
(
or BH-2A
)
. Pressing the
[
VOLUME
(
+
)]
switch increases the receiver
audio level. Pressing the
[
VOLUME
()]
switch decreases the receiver audio level.
3. Press the PTT switch on the BH-1A
(
or BH-2A
)
to transmit. Release the PTT switch
to return to receive.
4. You may adjust the microphone gain (Five steps) of the BH-2A by pressing the
[
VOLUME
(
+
)]
/
[
VOLUME
()]
switch while pressing and holding the PTT switch, if
desired.
Pressing the
[
VOLUME
(
+
)]
switch while pressing and holding the PTT switch in-
creases the microphone level. Pressing the
[
VOLUME
()]
switch while pressing and
holding the PTT switch decreases the microphone level. When the microphone gain
reaches maximum or minimum, a beep will be heard in the BH-2A speaker.
5. The communication range between the BH-1A
(
or BH-2A
)
and VX-8DR is around 1
m (3 ft). If you move out of range, a beep will be heard from the BH-1A
(
or BH-2A
)
to alert you. If you move back into range, the BH-1A
(
or BH-2A
)
will beep to alert
you that you are back within range.
6. When the battery voltage of the BH-1A
(
or BH-2A
)
is low;
a. the LED will blink Red and Blue.
b. a beep will be heard from the BH-1A
(
or BH-2A
)
.
c. the “ ” icon on the VX-8R will be blinking fast.
Charge the BH-1A’s
(
or BH-2A’s
)
battery with the optional CD-40 Charger Cradle.
When the BH-1A (or BH-2A) is correctly recognized, the VX-8DR’s internal speaker
and microphone are disabled.
Bluetooth
®
OPERATION
OPERATING BAND
BH-1A/BH-2A BATTERY LIFE
BATTERY LIFE
(
APPROX.
)
BH-2A
6 hours
Battery Saver “ON”: 20 hours
Battery Saver “OFF”: 3 hours
BH-1A
3 hours
Battery Saver “ON”: 10 hours
Battery Saver “OFF”: 3 hours
AM/FM Broadcast Band
Amateur Band
(
1:1:8 TX:RX:Standby
)

Table of Contents

Related product manuals