EasyManua.ls Logo

ABB A165-L34 - Table of Tightening Torques; Fig. 60: Tightening Torques of Speed Sensor

ABB A165-L34
140 pages
Print Icon
To Next Page IconTo Next Page
To Next Page IconTo Next Page
To Previous Page IconTo Previous Page
To Previous Page IconTo Previous Page
Loading...
Operation Manual / 4 Product description / A100-L
8 Disassembly and assembly / 8.24 Table of tightening torques
© Copyright 2020 ABB. All rights reserved. HZTL4034_EN Rev.R October 2020
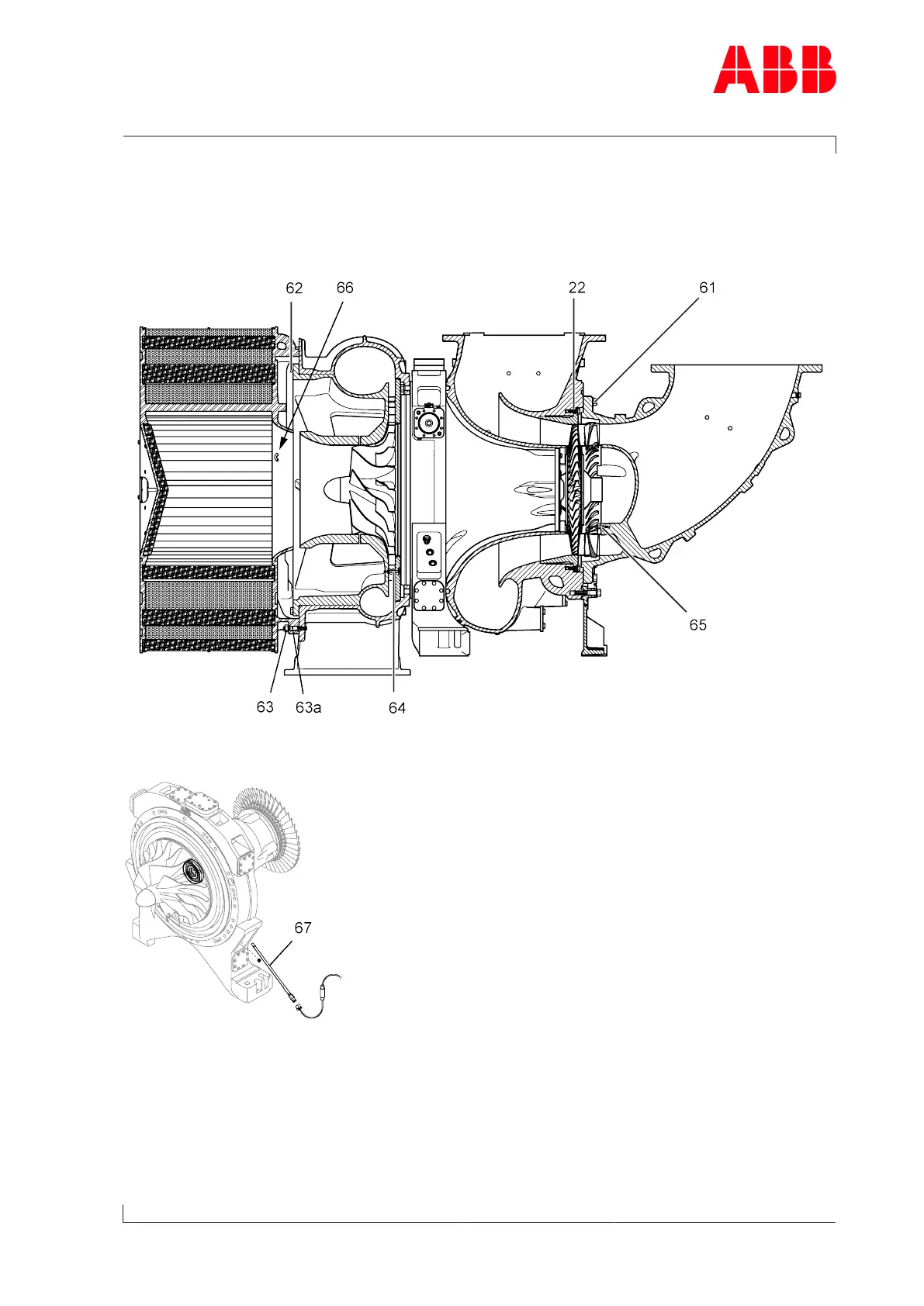
8.24 Table of tightening torques
Tightening torques [Nm]
Fig.59: Overview of tightening torques
Fig.60: Tightening torques of speed sensor
Page 89 / 110

Table of Contents

Related product manuals