EasyManua.ls Logo

ABB COMMANDER 150 - Page 12

ABB COMMANDER 150
42 pages
Print Icon
To Next Page IconTo Next Page
To Next Page IconTo Next Page
To Previous Page IconTo Previous Page
To Previous Page IconTo Previous Page
Loading...
10
999999
PrESEt
000000
PrEdEt
------
CodE
•1
•2
•1
Select Digit
Select Digit
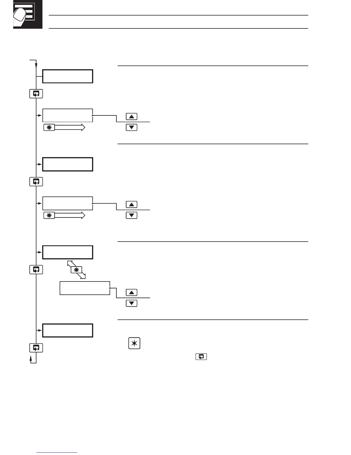
LEVEL
…2 OPERATOR MODE
…2.3 Operating Page – Totalizer (Level 1)
•1 The predetermined value should be greater than the preset value when the
totalizer is counting up and lower than the preset value when the totalizer is
counting down.
•2 Only displayed if enabled in the configuration level – see Section 4.3.3.
Preset Total
This is the value the batch total is set to when it is reset
[000000 to 999999 flow units]
Predetermined Total
When the predetermined total is reached the batch
total is reset (with wrap on) or stops (wrap off),
depending on the wrap setting – see Section 3.2.
[000000 to 999999 flow units]
Security Code
Enter the correct code to access the setup level.
[0 to 9999]
Level 1
Note. To select to this frame from anywhere in
this page, press the
key for a few seconds.