EasyManua.ls Logo

ABB COMMANDER 150 - Operating Page - Maths Functions (Level 1)

ABB COMMANDER 150
42 pages
Print Icon
To Next Page IconTo Next Page
To Next Page IconTo Next Page
To Previous Page IconTo Previous Page
To Previous Page IconTo Previous Page
Loading...
11
rSt-n
2145.3
UN-ACK
A 140.5
H150.2
•1
2 OPERATOR MODE…
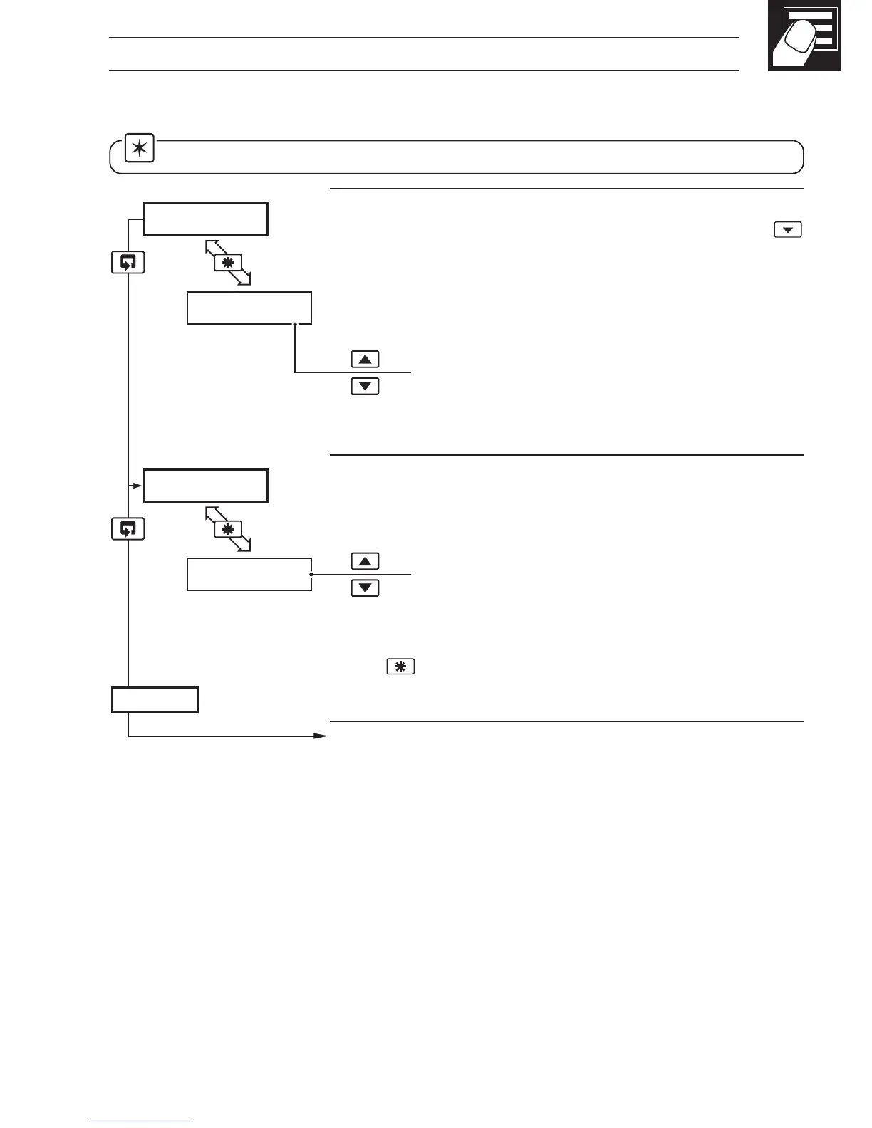
2.4 Operating Page – Maths Functions (Level 1)
Note. It is possible to have totalizer and maths functions together.
•1 This frame can be disabled – see Section 4.3.3.
The average value is reset automatically on power-up and can also be reset from
a digital input – see Section 4.3.4.
The reset function in this frame can be disabled – see Section 4.3.3.
Process Variable
To view the input value (in electrical units) press the
key.
Global Alarm Acknowledge (latch alarms only)
UN-ACK. alarm unacknowledged
ACK. acknowledged
Average Value
This is the mean average value of the process variable
input, since the average was reset.
rSt-Y reset
rSt-n do not reset
To reset the average value, select
rSt-Y then press
the
key.
Continued on next page.