EasyManua.ls Logo

ADC PHASE 6 OPL - Page 35

ADC PHASE 6 OPL
68 pages
Print Icon
To Next Page IconTo Next Page
To Next Page IconTo Next Page
To Previous Page IconTo Previous Page
To Previous Page IconTo Previous Page
Loading...
32
Continued
dRY
100
LEVEL
0
9
5
Continued
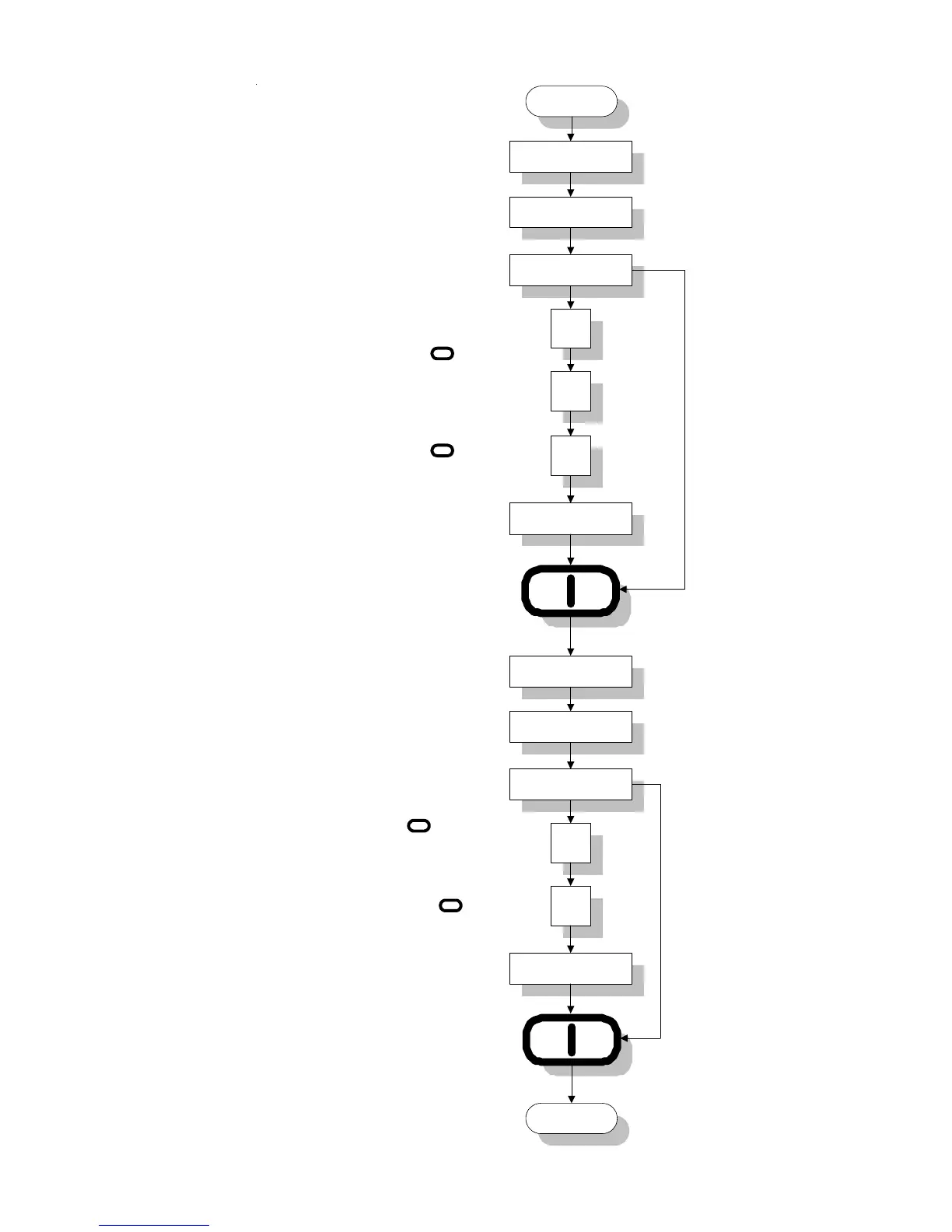
Display "COOL" for 1 second.
095
COOL
06 M
TIME
0
8
08 M
Display "dRY" for 1 second.
Display "LEVEL" for 1 second.
Dryness Level (% Extraction).
Press "ENTER/START"
Key if no change. If a change
is necessary, enter % change
(90% to 100% in increments of
1%). I.e., for 95%, press Key
"0", Key "9", Key "5" and then
press "ENTER/START"
Key.
Display "TIME" for 1 second.
Cool Down Time.
Press "ENTER/START" Key if no
change. If a change is necessary,
enter time change (0 to 99 minutes in
increments of 1 minute). I.e., for 8
minutes, press Key "0", Key "8" and
then press "ENTER/START"
Key.
I
I
I
I

Table of Contents