EasyManua.ls Logo

Alinco DJ-A10 - Priority Channel Setup; Current Battery Voltage Display

Alinco DJ-A10
81 pages
Print Icon
To Next Page IconTo Next Page
To Next Page IconTo Next Page
To Previous Page IconTo Previous Page
To Previous Page IconTo Previous Page
Loading...
Professional
FM Transceiver
53
3.Press
A
key then press
B
key or
C
key to choose parameters, that is
1 to 5. Higher the louder. Default is 2.
Priority Channel Setup
1.Press and hold
PF2
key while turning on the radio, and keep pressing【PF2】key for 3 seconds
to enter into the Set Mode operations.
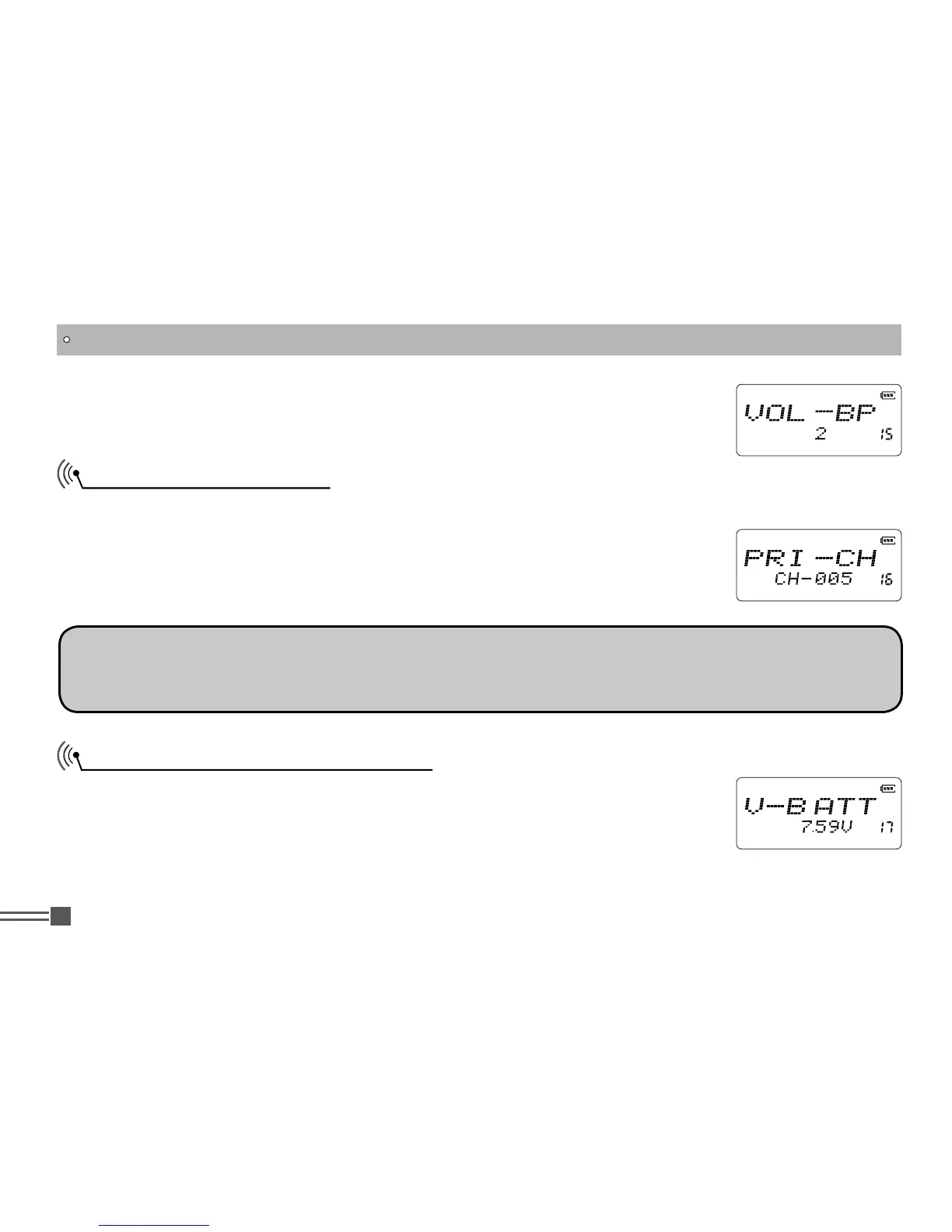
2.Press
B
/
C
】key to choose the Menu 16 and display “
PRI-CH
”.
3.Press
A
key then press
B
key or
C
key to choose the channel you
wish to use for Priority Scan operation from any one of 128 available channels.
OFF:
Priority channel is disabled. Default is OFF.
NOTE:
This function is only to set the channel used for the priority scan monitoring. At least one channel must be
preprogrammed to activate priority scanning. Scan skip channel or channel without being programmed
cannot be selected.
Current Battery Voltage Display
1.Press and hold
PF2
key while turning on the radio, and keep pressing
PF2
key for 3 seconds to enter into the Set Mode operations.
2.Press
B
/
C
key to choose the Menu 17 and display “
V-BATT
”.
At this state, the approximate battery voltage is displayed on the LCD.
Please note that the voltage is approximate and Alinco does not guarantee the accuracy.
SET MODE OPERATIONS

Table of Contents

Other manuals for Alinco DJ-A10

Related product manuals