EasyManua.ls Logo

Alpha PowerBay BDFB - Bus Reconfiguration; Bus Configuration Guide

Alpha PowerBay BDFB
52 pages
Print Icon
To Next Page IconTo Next Page
To Next Page IconTo Next Page
To Previous Page IconTo Previous Page
To Previous Page IconTo Previous Page
Loading...
17
C048-740-30 R02, Rev. C (01/2020)
4.8 4.8 Bus RecongurationBus Reconguration
WARNING! ELECTRICAL HAZARD
MULTIPLE POWER SOURCES ARE PRESENT.
ELECTRICAL INSTALLATION SHOULD ONLY BE
PERFORMED BY QUALIFIED PERSONNEL WITH PROPER
TOOLS AND PROTECTIVE SAFETY EQUIPMENT.
MAKE SURE THAT NO-OXIDE COMPOUND IS APPLIED
TO ALL COPPER-TO-COPPER CONNECTIONS.
NOTICE:
Table 6. Interconnection Jumper Specications
TERMINATION
TYPE
HOLE/STUD
SIZE
CENTER
TO
CENTER
RECOMMENDED
TORQUE VALUE
Threaded Insert 3/8 in. 1 in. 350 in·lbs
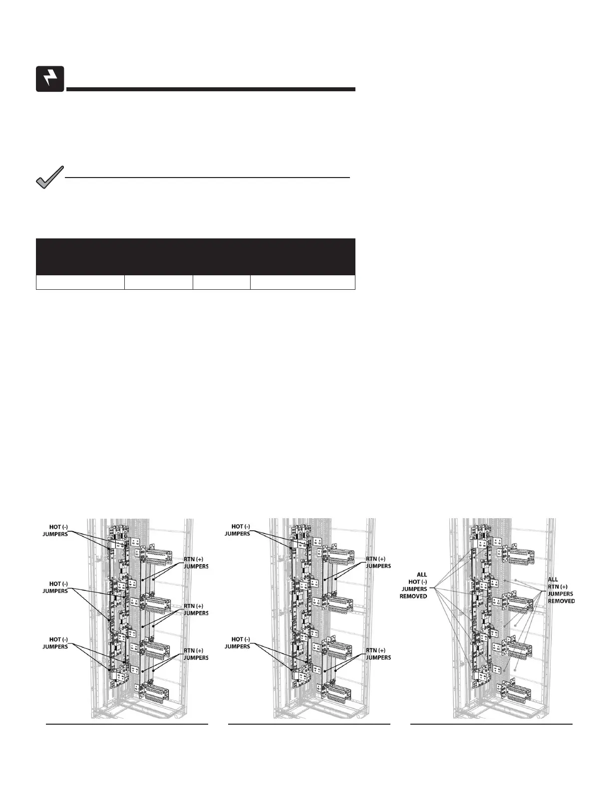
The Full-Size BDFB was designed so that its buswork and distribution
panels can be recongured at any time later on to meet the desired
needs of the customer. It is possible to recongure the buswork to
create a dual-bus, quad-bus, or an eight-bus BDFB. Figures 31-33
below represent the di󰀨erent interconnection jumper layouts that can
be achieved by simply adding or removing jumpers. For more detailed
information, refer to Appendix B for bus locations and layout.
To assemble a dual-bus conguration, install the hot/return jumpers
between all hot/return buses (see Figure 31). To assemble a quad-bus
conguration, install the hot/return jumpers on all hot/return buses
except for the middle position (see Figure 32). To assemble an eight-
bus conguration, remove all hot/return jumpers (see Figure 33). Refer
to 4.8.1 and 4.8.2 on Page 18 for detailed interconnection jumper
installation instructions.
Figure 31. Dual-Bus Jumper
Conguration
Figure 32. Quad-Bus Jumper
Conguration
Figure 33. Eight-Bus
Conguration (No Jumpers)

Table of Contents