EasyManua.ls Logo

ASV RT-75 - Page 95

ASV RT-75
121 pages
Print Icon
To Next Page IconTo Next Page
To Next Page IconTo Next Page
To Previous Page IconTo Previous Page
To Previous Page IconTo Previous Page
Loading...
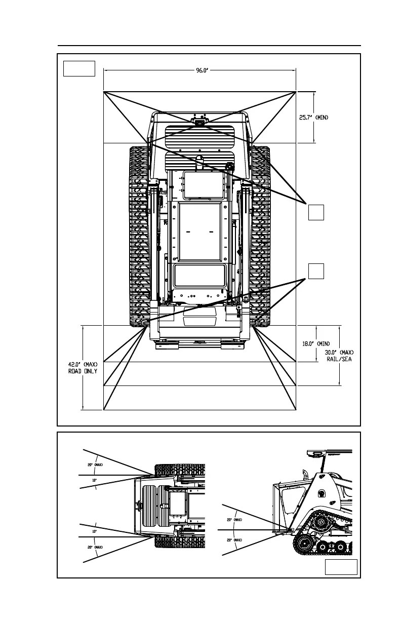
6 TRANSPORTATION
93
RT-75 / RT-75HD US O&M
0405-073 2020-07
6.2-1
FRONT
6.3-1
TOP VIEW SIDE VIEW
A
B
REAR
Bucket excluded from illustration for clarity.
Note: If an
attachment
causes
machine
weight to
exceed
9465lb, the
attachment
must also
be
secured.

Table of Contents

Related product manuals