EasyManua.ls Logo

Atlantic EGEO - Installation

Atlantic EGEO
Print Icon
To Next Page IconTo Next Page
To Next Page IconTo Next Page
To Previous Page IconTo Previous Page
To Previous Page IconTo Previous Page
Loading...
DE
113
Produktprasentation
Installation
Einstellung/
Nutzung
Wartung
Instandhaltung,
Fehlerbehebung
Garantie
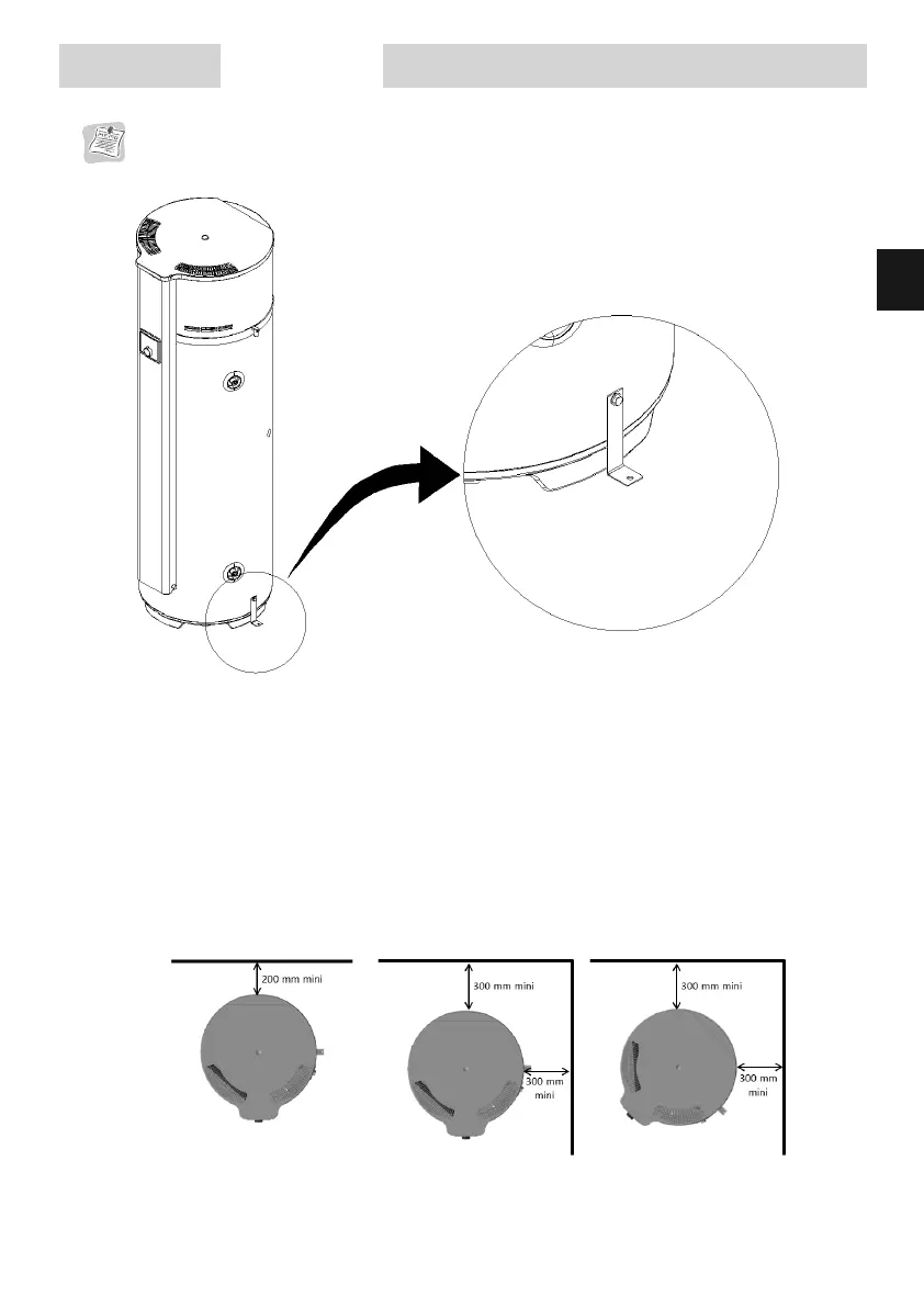
Der Warmwasserbereiter muss zwingend mit dem hierfür vorgesehenen Befestigungswinkel
am Boden fixiert werden (ge
ß
Artikel 20 der Norm EN 60335-1)
.
4.3. Installation
Unbeheizte Räumlichkeit bei einer Temperatur über 5° C und getrennt von beheizten Räumen
der Wohnung.
Empfohlene Räumlichkeiten = halb oder vollständig unterirdisch, mit Temperaturen von
ganzjährig über 10 °C.
Beispiele unbeheizter Räumlichkeiten:
W
Garage: Rückgewinnung von Wärme, die durch laufende Haushaltsgeräte freigesetzt wird
.
W
Waschküche: Luftentfeuchtung des Raumes und Rückgewinnung von Wärme, die von Waschmaschine
und Trockner freigesetzt wird
.
W
Halb unterirdischer Raum: Rückgewinnung von Wärmeeinheiten aus Boden und Kellerwänden
.
Auflagen für den Einbau

Table of Contents

Other manuals for Atlantic EGEO

Related product manuals