EasyManua.ls Logo

Atlantic EGEO - Installazione

Atlantic EGEO
Print Icon
To Next Page IconTo Next Page
To Next Page IconTo Next Page
To Previous Page IconTo Previous Page
To Previous Page IconTo Previous Page
Loading...
80
Presentazione del
prodotto
Installazione
Impostazioni /
Utilizzo
Manutenzione,
riparazione
Garanzia
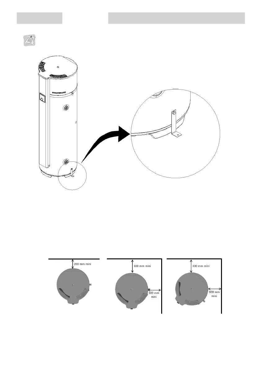
La caldaia deve obbligatoriamente (in conformità all'articolo 20 della norma EN 60335-1) essere
fissata al suolo per mezzo della staffa di fissaggio prevista a tale scopo.
4.3. Installazione
Locale non riscaldato con temperatura superiore ai 5°C e isolato dalle camere riscaldate dell'abitazione.
Locale consigliato = cantina o seminterrato, stanza in cui la temperatura è superiore a 10°C tutto l'anno.
Esempi di locali non riscaldati:
U Garage: recupero delle calorie gratuite sprigionate dagli apparecchi elettrodomestici in funzione.
U Lavanderia: deumidificazione della stanza e recupero delle calorie perse dalla lavatrice e dall'asciugabiancheria.
U Stanza seminterrata: recupero delle calorie gratuite rilasciate dal suolo e dal sottosuolo.
Obblighi di installazione

Table of Contents

Other manuals for Atlantic EGEO

Related product manuals