EasyManua.ls Logo

Atlantic EGEO - Installatie

Atlantic EGEO
Print Icon
To Next Page IconTo Next Page
To Next Page IconTo Next Page
To Previous Page IconTo Previous Page
To Previous Page IconTo Previous Page
Loading...
146
Voorstelling
Product
Installati
Gebruikers-
instellingen
Onderhoud en
foutopsporing
Garantie
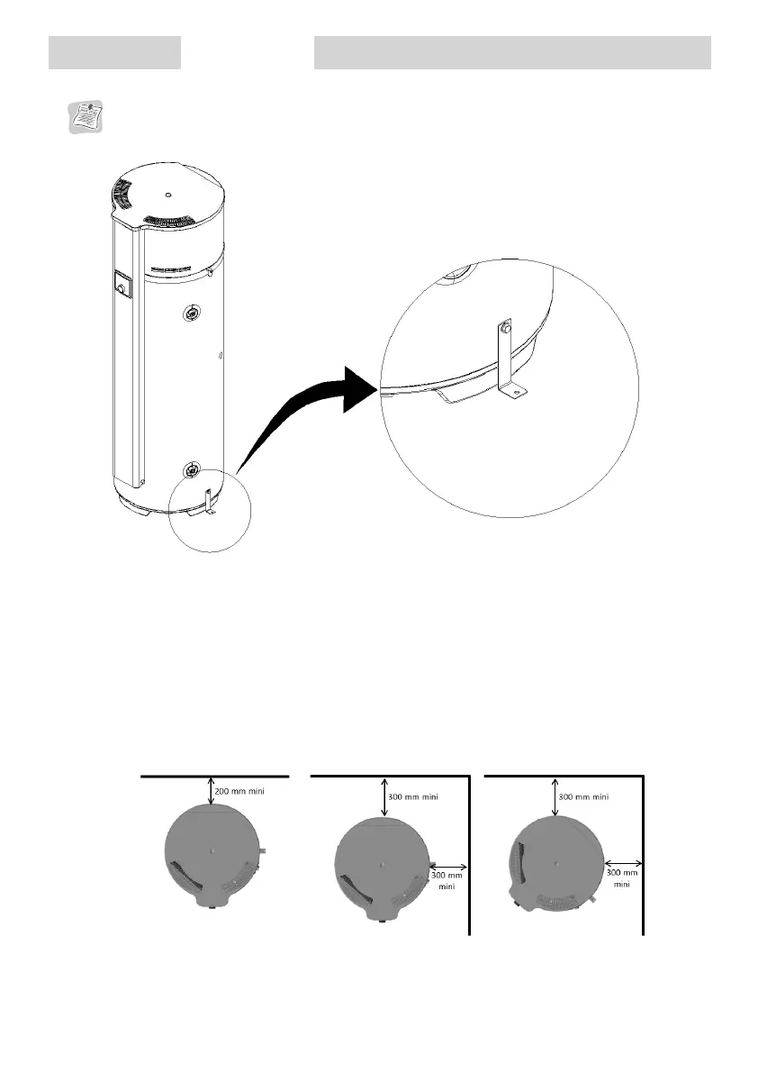
De warmtepompboiler moet (overeenkomstig artikel 20 van de norm EN 60335-1) op de vloer
gemonteerd worden met de hiervoor bestemde bevestigingsbeugel.
4.3. Installatie
Niet-verwarmde ruimte met een temperatuur hoger dan 5°C en verwijderd van de verwarmde ruimtes in
de woning.
Aanbevolen ruimte: ondergrondse of half ondergrondse ruimte, een plaats waar de temperatuur het ganse jaar
door meer dan 10°C bedraagt.
Voorbeelden van geschikte ruimtes:
S Garage: recuperatie gratis warmte afgegeven door draaiende huishoudtoestellen.
S Wasplaats: ontvochtiging van de ruimte en recuperatie warmte afgegeven door wasmachine en droogkast.
S Souterrain: recuperatie gratis warmte afgegeven door vloer en wanden van de ruimte.
Installatiebeperkingen

Table of Contents

Other manuals for Atlantic EGEO

Related product manuals