EasyManua.ls Logo

AuCom EMX3-1600C - Auxiliary Trip Circuit

AuCom EMX3-1600C
96 pages
Print Icon
To Next Page IconTo Next Page
To Next Page IconTo Next Page
To Previous Page IconTo Previous Page
To Previous Page IconTo Previous Page
Loading...
APPLICATION EXAMPLES
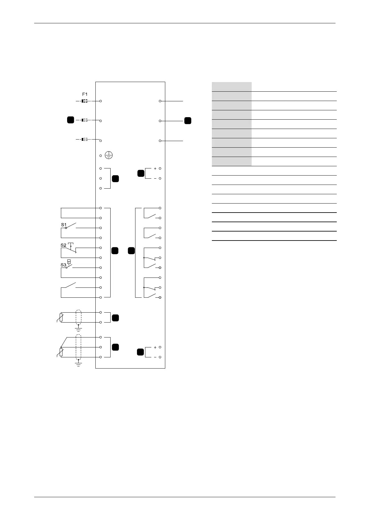
11.4 Auxiliary Trip Circuit
In normal operation the EMX3 is controlled via a remote two-wire signal (terminals C31, C32).
Input A (terminals C53, C54) is connected to an external trip circuit (such as a low pressure alarm switch for a pumping system).
When the external circuit activates, the soft starter trips, which stops the motor.
32
31
6/T3
2/T1
13
14
P24
COM
4/T2
24
23
34
B10
B11
41
42
44
B5
B4
C31
C32
C41
C42
C53
C54
C24
C64
C63
B7
B8
B6
A2
A1
A3
5/L3
3/L2
C23
E
1/L1
7
6
5
4
3
2
1
8
9
05972.D
1
Control voltage (model dependent)
2
Remote control inputs
3
Motor thermistor input
4
RTD/PT100 input
5
24 VDC output
6
Relay outputs
7
Analog output
8
Three-phase supply
9
Motor terminals
S1 Start/stop contact
S2 Reset contact
S3 Auxiliary trip contact
F1 Semiconductor fuses (optional)
13, 14 Relay output A
23, 24 Run relay output
31, 32, 34 Relay output B
41, 42, 44 Relay output C
Parameter settings:
Parameter 6A
Input A Function
Select 'Input Trip (N/O)'. Assigns the Input A to Auxiliary Trip (N/O) function.
Parameter 6B
Input A Name
Select a name, eg Low Pressure. Assigns a name to Input A.
Parameter 6C
Input A Trip
Set as required. For example, 'Run Only' limits the input trip to when the soft starter is running only.
Parameter 6D
Input A Trip Delay
Set as required. Sets a delay between the input activating and the soft starter tripping.
Parameter 6E
Input A Initial Delay
Set at around 120 seconds. Limits operation of the input trip to 120 seconds after the start signal. This allows
time for pressure to build up in the piping before the low pressure input becomes active.
User Manual (710-04840-00M) | 65

Table of Contents

Related product manuals