EasyManua.ls Logo

AuCom EMXAe - Power Terminations

Default Icon
92 pages
Print Icon
To Next Page IconTo Next Page
To Next Page IconTo Next Page
To Previous Page IconTo Previous Page
To Previous Page IconTo Previous Page
Loading...
INSTALLATION
4.6 Power Terminations
The power input and output terminals are at the bottom of the unit.
Models EMX4e-0024B~EMX4e-0135B use cage clamps. Use only copper
stranded or solid conductors, rated for 75 ºC or higher.
Models EMX4e-0184B~EMX4e-0580B use busbars. Use copper or
aluminium conductors, stranded or solid, rated for 60 ºC/75 ºC.
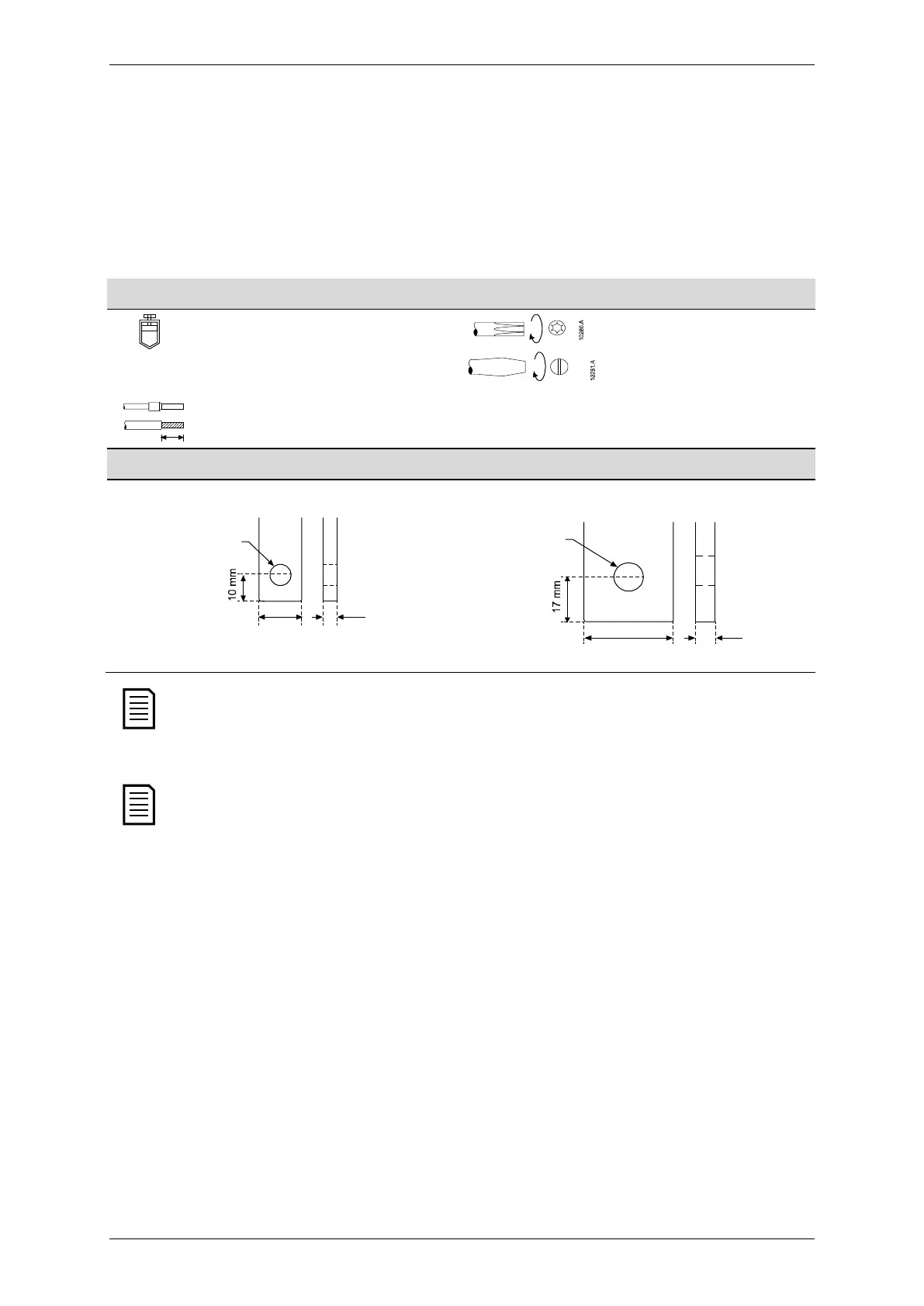
EMX4e-0024B~EMX4e-0135B
05966
.E
Cable size:
6-70 mm
2
(AWG 10-2/0)
Torque: 4 Nm (2.9 ft-lb)
Torx T20 x 150
Flat 7 mm x 150
1
1290 .A
14 mm (0.55 inch)
EMX4e-0184B~EMX4e-0250B
EMX4e-0352B~EMX4e-0580B
19 Nm (14.0 ft-lb) 66 Nm (49.0 ft-lb)
6 mm20 mm
9 mm
(M8)
17045.A
6 mm
34 mm
13 mm
(M12)
17047.A
NOTE
If the installation requires large diameter cables, it is possible to complete
each termination with two smaller cables, one on each side of the busbar.
NOTE
Some units use aluminium busbars. When connecting power terminations,
we recommend cleaning the surface contact area thoroughly (using an
emery or stainless steel brush) and using an appropriate jointing
compound to prevent corrosion.
28 | EMX4e User Manual (710-18433-00C)

Table of Contents

Related product manuals