EasyManua.ls Logo

Audi TT - Page 74

Audi TT
199 pages
Print Icon
To Next Page IconTo Next Page
To Next Page IconTo Next Page
To Previous Page IconTo Previous Page
To Previous Page IconTo Previous Page
Loading...
Protected by copyright. Copying for private or commercial purposes, in part or in whole, is not
permitted unless authorised by AUDI AG. AUDI AG does not guarantee or accept any liability
with respect to the correctness of information in this document. Copyright by AUDI AG.
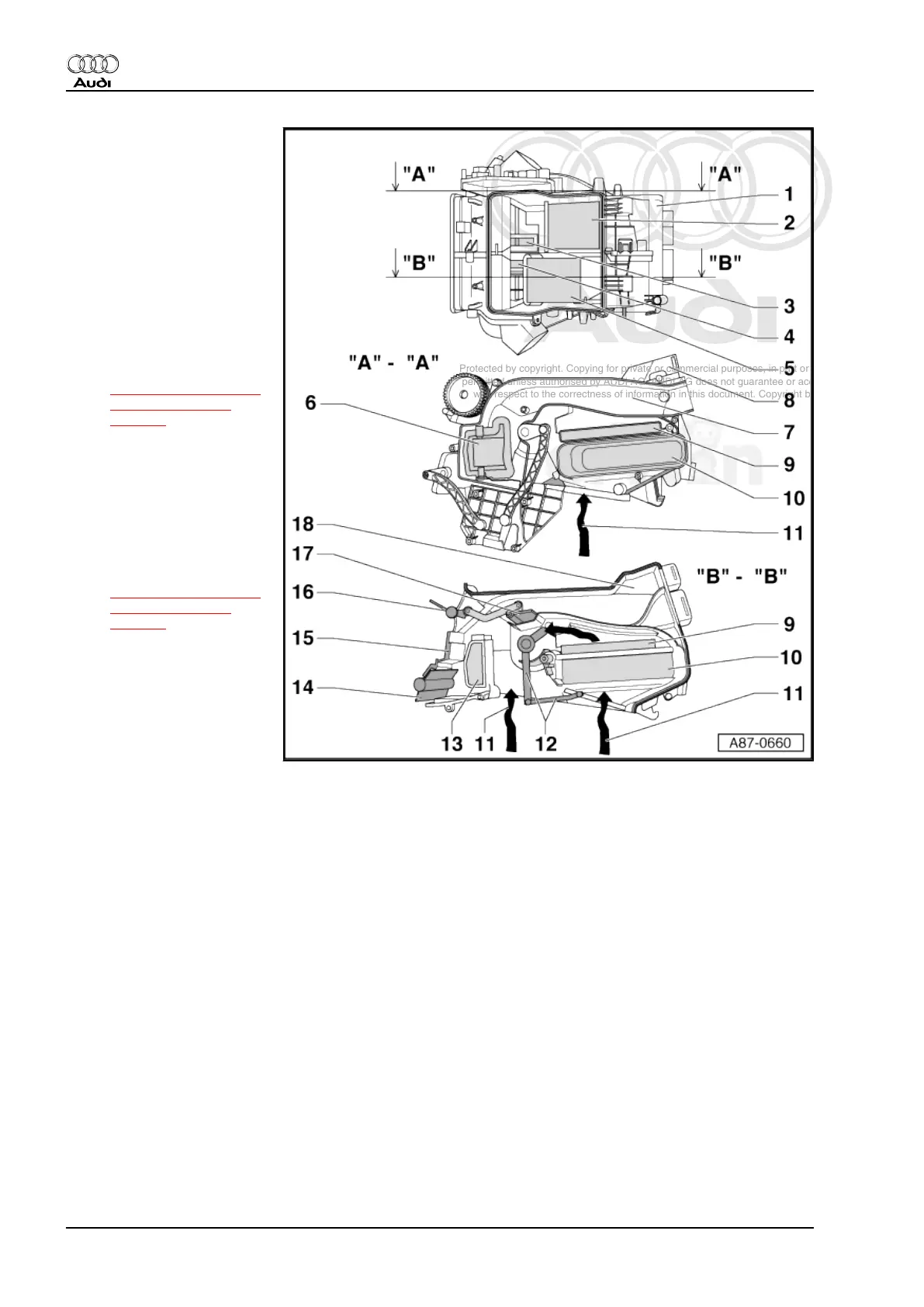
1 - Air Distribution Housing
2 - Left Temperature Door
(Driver Side)
Shown in the cooling po‐
sition
3 - Air Duct To Center Instru‐
ment Panel Vents
The air channel to the
vent in the rear center
console is always
sealed with a sealing
plug, there is no vent in‐
stalled in the rear center
console. Refer to
⇒ “2.12 Air Intake and
Outlet Openings“,
page 67 .
4 - Air Duct To Center Instru‐
ment Panel Vents
The air channel to the
vent in the rear center
console is always
sealed with a sealing
plug, there is no vent in‐
stalled in the rear center
console. Refer to
⇒ “2.12 Air Intake and
Outlet Openings“,
page 67 .
5 - Right Temperature Door
(Front Passenger Side)
Shown in center posi‐
tion.
6 - Left Footwell Door (Driver
Side)
Shown in closed posi‐
tion.
Central doors (left, right and center) and both footwell doors are operated with each other via curved
washers installed on control motor or on shaft.
7 - Air Guide Channel In The Driver Side Footwell
8 - Air Distribution Housing Sectioned Above Line “A“-“A“
9 - Auxiliary Air Heater Heating Element -Z35-
Only intended for vehicles with Diesel engine.
10 - Heat Exchanger For Heater Unit
11 - Air Outlet From Evaporator Housing
Air inlet from heater air duct housing (on vehicles without A/C system).
12 - Right Temperature Door (Front Passenger Side)
Shown in center position.
13 - Right Footwell Door (Front Passenger Side)
Shown in closed position.
Central doors (left, right and center) and both footwell doors are operated with each other via curved
washers installed on control motor or on shaft.
14 - Defroster Door
Shown in closed position.
From May 2007, an A/C air distribution housing with a defroster door in the air outlet to the defroster
vents in the instrument panel without a side cut-out is gradually being installed. Refer to
Audi TT 2007 ➤
Heating, Ventilation and Air Conditioning - Edition 01.2011
70 Rep. Gr.87 - Air Conditioning

Table of Contents

Other manuals for Audi TT

Related product manuals