EasyManua.ls Logo

B&R PP21 - Output Circuit Diagram; Output Circuit Diagram for Potential-Free Relay Contact; Connection Example for Outputs 1 - 8

B&R PP21
56 pages
Print Icon
To Next Page IconTo Next Page
To Next Page IconTo Next Page
To Previous Page IconTo Previous Page
To Previous Page IconTo Previous Page
Loading...
42 Power Panel User's Manual
Power Panel • Description of Components
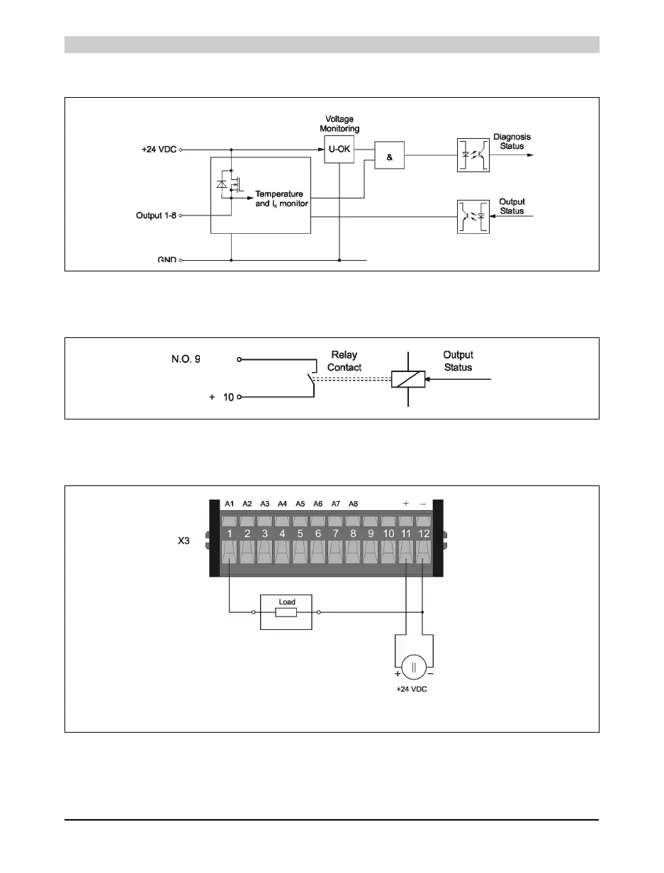
12.11.2 Output Circuit Diagram
12.11.3 Output Circuit Diagram for Potential-Free Relay Contact
12.11.4 Connection Example for Outputs 1 - 8
Figure 20: Digital outputs - output circuit diagram
Figure 21: Connection example for relay contact
Figure 22: Connection example for outputs 1 - 8

Table of Contents

Related product manuals