EasyManua.ls Logo

BendPak HD-973P - Page 69

BendPak HD-973P
112 pages
Print Icon
To Next Page IconTo Next Page
To Next Page IconTo Next Page
To Previous Page IconTo Previous Page
To Previous Page IconTo Previous Page
Loading...
HD-973P Series Multi-Level Parking Lift 69 P/N 5900076Rev. B3 — January 2024
Slowly remove the film as you press the exposed Tape’s adhesive side into the Runway. Work
slowly and apply 2 to 5 inches at a time to stay within your guide lines.
After applying the Tape use a heavy rubber roller to press the Tape into the Runway and to ensure
firm contact with the adhesive.
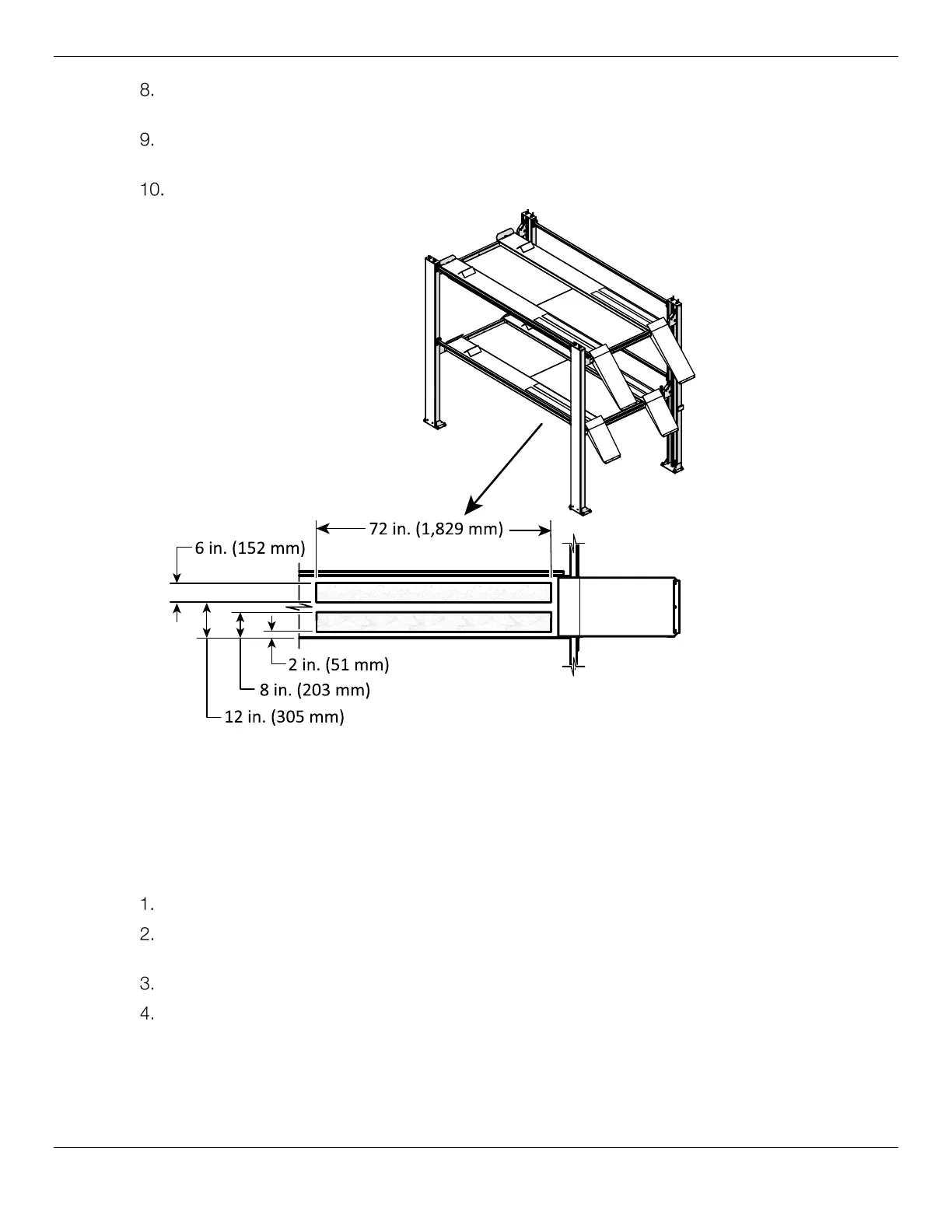
Apply the Anti-Slip Tape to the remaining area of the Lift’s runways similar to the figure below.
Lubricating the Lift
There are several lubrication points on each Platform.
All Sheaves bearings and Sheave Pins are to be lubricated liberally with red lithium
grease when assembled.
To lubricate the Lift:
Raise the Upper Platform to its maximum and then lower it onto the nearest Safety Lock.
Raise the Lower Platform to a comfortable height to work under, then lower onto the nearest
Safety Lock.
Hold in the Lowering Handle for a few seconds to provide some slack in the Lift Cables.
Remove power from the Lift and lockout/tagout to prevent unintended operation.
WARNING Before performing any maintenance on your Lift, verify all four corners of both
Platforms are resting on their Safety Locks and the power source has been
completely disconnected. If your organization has Lockout/Tagout policies, make
sure to implement them after connecting to the power source.

Related product manuals