EasyManua.ls Logo

Bosch CL300 - Fan Unit of BGT300;301

Bosch CL300
167 pages
Print Icon
To Next Page IconTo Next Page
To Next Page IconTo Next Page
To Previous Page IconTo Previous Page
To Previous Page IconTo Previous Page
Loading...
Configuration
FlexibleAutomation
2−17
ÉÉÉ
ÉÉÉ
ÉÉ
ÉÉ
ÉÉÉ
ÉÉÉ
ÉÉÉ
ÉÉÉ
ÉÉÉ
ÉÉ
ÉÉ
ÉÉ
ÉÉÉ
ÉÉÉ
ÉÉ
ÉÉ
ÉÉ
ÉÉÉ
ÉÉÉ
ÉÉÉ
ÉÉÉ
ÉÉÉ
ÉÉÉ
ÉÉÉ
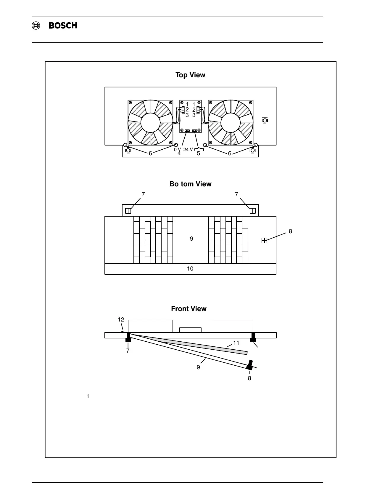
6 6
1
2
3
1
2
3
0V24V
45
TopView
BottomView
9
10
77
8
FrontView
12
7
7
9
11
8
1−
2−
3−
4−
5−
6−
7−
8−
9−
10−
11−
12−
Terminalred
Terminalblack
Terminalyellow
Powerconnector
Failurecontact
Holesforcableclamps
Fanunitlatch
Filtermatlatch
Perforatedfiltermatholder
Thefiltermatislocatedunderthefiltermatholder
Rearedgeoffanunit
Filtermat
Filtermatholderinsertionslot
Fig.2−9Fan Unit of BGT300/301

Related product manuals