EasyManua.ls Logo

Bovie Aaron 950 - Indicators and Receptacles; Figure 2 - 4 Indicators and Receptacles

Bovie Aaron 950
52 pages
Print Icon
To Next Page IconTo Next Page
To Next Page IconTo Next Page
To Previous Page IconTo Previous Page
To Previous Page IconTo Previous Page
Loading...
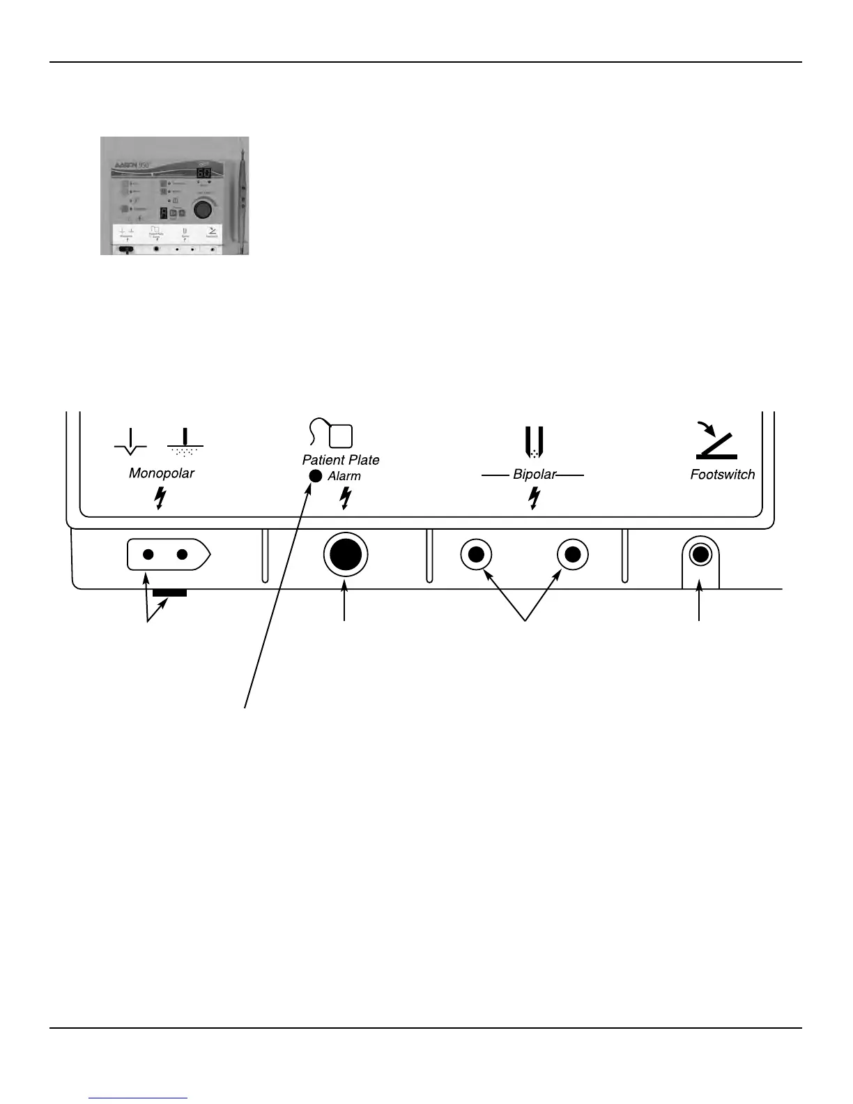
INDICATORS AND RECEPTACLES
Figure 2 – 4 Indicators and receptacles
2-6 Bovie Medical Corporation
Monopolar Handpiece
Receptacle
Accepts the Aaron A901
3-button handpiece cord.
Patient Plate Grounding
Receptacle
Accepts the Aaron A1202C
reusable grounding cord.
Patient Plate Alarm Indicator
Indicates an alarm condition regard-
ing the patient return cord or pad.
Footswitch Receptacle
Accepts the Aaron A1203W
footswitch cord.
Bipolar Cord Receptacle
Accepts the Aaron A827EU bipolar
forceps cord.

Table of Contents

Related product manuals