EasyManua.ls Logo

Bowflex PR3000 - Étiquettes Davertissement de Sécurité Et Numéro de Série

Bowflex PR3000
68 pages
Print Icon
To Next Page IconTo Next Page
To Next Page IconTo Next Page
To Previous Page IconTo Previous Page
To Previous Page IconTo Previous Page
Loading...
Précautions de sécurité importantes
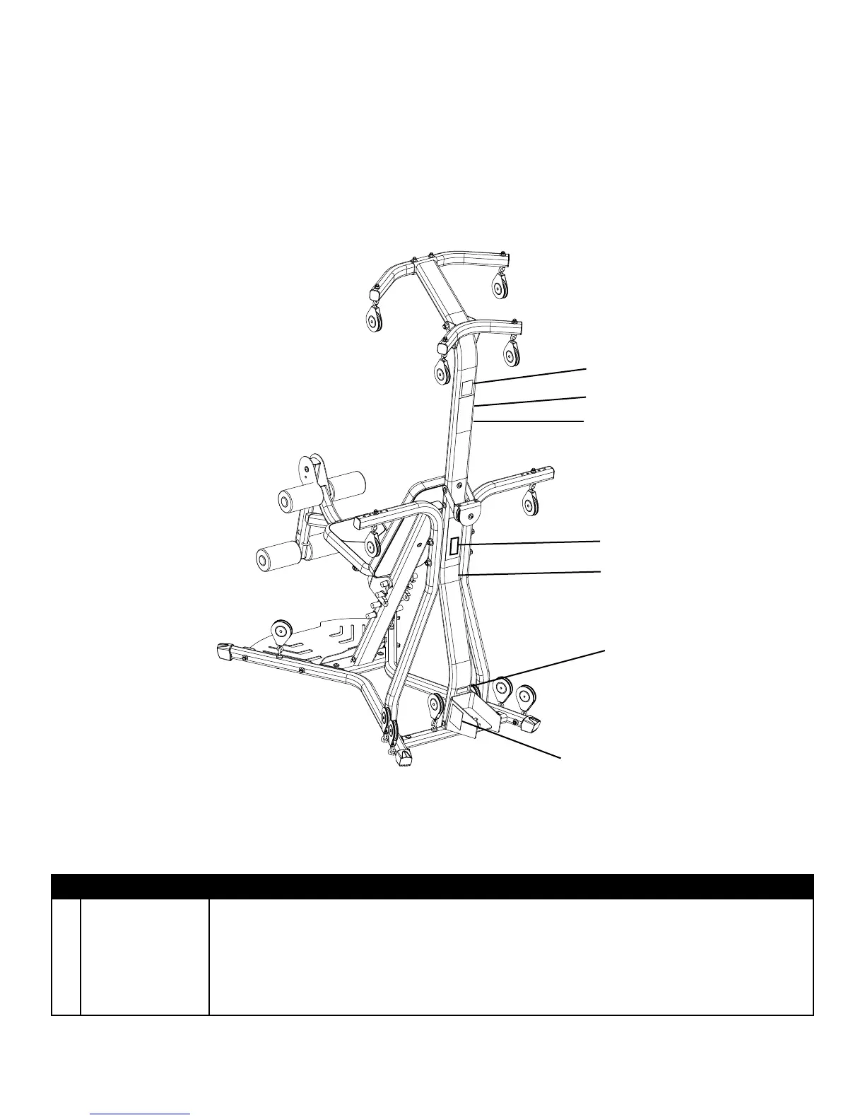
Étiquettes d’avertissement de sécurité et numéro de série
Localisez et lisez tous les avertissements de sécurité avant d’utiliser la machine. Remplacez les étiquettes
d’avertissement endommagées, illisibles ou manquantes. Pour obtenir des étiquettes de remplacement, communiquez
avec un représentant Nautilus®. Reportez-vous à la page Coordonnées au dos de ce guide.
3
1
6
7
5
4
REMARQUE : Unité de la Power Rod® retirée pour plus de clarté.
Type Description
1 AVERTISSEMENT * Une mauvaise utilisation ou un abus de cet équipement peut entraîner des blessures graves.
* Gardez les enfants à distance de cet équipement et supervisez les adolescents qui l’utilisent.
* Obtenez, lisez et comprenez le Guide du propriétaire fourni avec cet équipement de
conditionnement physique avant de l’utiliser.
* Remplacez cette étiquette ou toute autre étiquette d’avertissement endommagée, illisible ou
manquante.
2
Guide du propriétaire
38

Table of Contents

Other manuals for Bowflex PR3000

Related product manuals