EasyManua.ls Logo

Cardinal 200 - Page 65

Cardinal 200
68 pages
Print Icon
To Next Page IconTo Next Page
To Next Page IconTo Next Page
To Previous Page IconTo Previous Page
To Previous Page IconTo Previous Page
Loading...
8200-M035-O1 Rev C ļ‚Ÿ 200 Installation & Technical
59
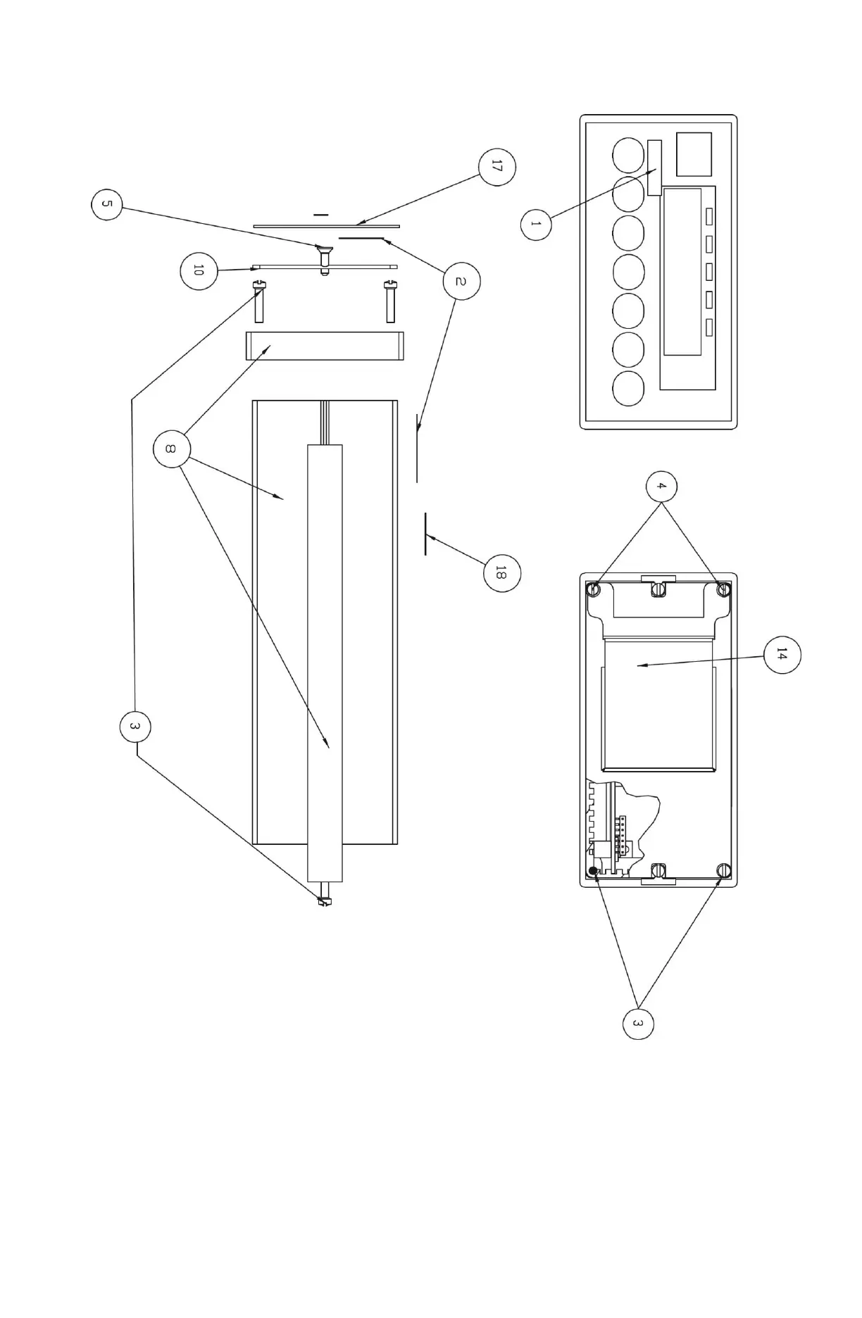
PART IDENTIFICATION, CONT.

Related product manuals