EasyManua.ls Logo

CEMONT MAXISTAR 180MEC - Sváření Korozivzdorní Ocele; Sváření Hliníku; Bodové Sváření; 7 Chyby PřI Svařování Mig

Default Icon
128 pages
Print Icon
To Next Page IconTo Next Page
To Next Page IconTo Next Page
To Previous Page IconTo Previous Page
To Previous Page IconTo Previous Page
Loading...
5 CS
CHYBY PŘI SVAŘOVÁNÍ MIG
CS
5. Pravidelně zkontrolujte, zda nejsou čelisti uzemňovacích
svorek poškozené, a zda svářecí kabely (pro hořák a aj
uzemňovací) nejsou přeseknuty anebo přehořené, co by
mohlo zhoršit účinnost.
6.3 SVÁŘENÍ KOROZIVZDORNÍ OCELE
Sváření (austenitické) korozivzdorné ocele třídy 300 technologií
MIG se musí uskutečnit s ochranným plynem s vysokým obsahem
argonu a malým podílem O2 na stabilizaci oblouku. Nejběžnější
používanou směsí je Ar/ O2 98/2.
- Nikdy nepoužívejte CO2 anebo směsi Ar/CO2.
- Nikdy se nedotýkejte se drátu.
Použitý přídavný materiál musí mít vyšší jakost jako základný
materiál, a místo sváření musí byť úplně čisté.
6.4 SVÁŘENÍ HLINÍKU
Při sváření hliníku technologií MIG použijte následující:
1. 100 % argon jako ochranný plyn.
2. Přídavný materiál se složeným vhodným ke svářenému
základnímu materiálu. Na sváření ALUMAN-u a ANTICORO-
DAL-u použijte drát s obsahem 3 až 5 % křemíku. Na sváření
PERALUMAN-u a ERGAL-u použijte drát s obsahem 5 %
hořčíku.
3. Použijte hořák určený na sváření hliníku.
6.5 BODOVÉ SVÁŘENÍ
Tento způsob sváření se používá pro bodové sváření dvou přek-
rývajících se plechů a požaduje použití osobitní plynové trysky.
Nasaďte plynovou trysku na bodové sváření, potlačte ji oproti
místu, které se má svářet. Stlačte tlačítko na hořáku; mějte na
paměti, že svářeč/svářecí stroj se případně oddálí od svaru. Teh-
dy je perioda udaná řízení časovým spínačem (TIMER, odkaz A -
Obrázek 1 Strana 3.) a musí se nastavit v závislosti na síle mate-
riálu.
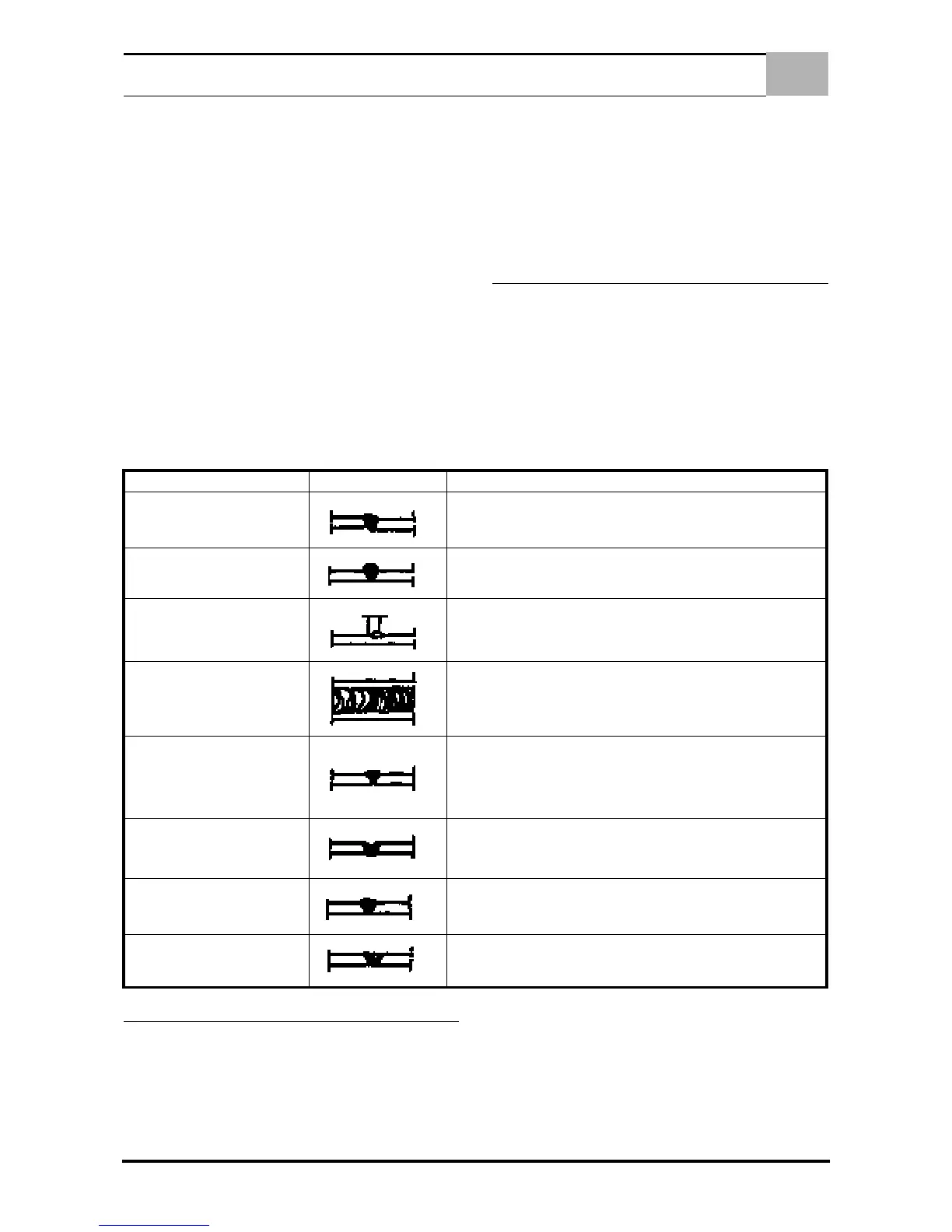
7.0 CHYBY PŘI SVAŘOVÁNÍ MIG
ROZTŘÍDĚNÍ A POPIS CHYB
Svary vyhotovené technologií MIG můžou být ovlivněny rozličn-
ými chybami, které je důležité rozpoznat. Tyto chyby se tvarem
anebo původem neodlišují od těch, které se vyskytnou při ručním
obloukovém sváření obalenými elektrodami. Rozdíl mezi dvěma
technologiemi je dřív v množství chyb: například pórovitost je
častější při sváření MIG, zatím co struskové vměstky se vyskytují
jen při sváření obalenou elektrodou.
Příčiny a předcházení tímto chybám jsou též velice různorodé.
Následující tabulka ukazuje různé chyby.
8.0 VŠEOBECNÁ ÚDRŽBA
PŘED VYKONÁNÍM JAKÉKOLIV ÚDRŽBY ODPOJTE ZDROJ
NAPÁJENÍ Z HLAVNÍHO ELEKTRICKÉHO ROZVODU.
Každých 5 až 6 měsíců odstraňte nahromaděný prach z vnitřku
svářecí jednotky proudem suchého stlačeného vzduchu (po
odstranění bočných panelů).
BUĎTE MIMOŘÁDNĚ POZORNÍ, ABYSTE SE VYHNULI
OHÝBÁNÍ HOŘÁKU, KTERÉ MŮŽE POŠKODIT A UCPAT
HOŘÁK. ZDROJ ENERGIE NIKDY NEPŘEMISŤUJTE
TÁHÁNÍM ZA HOŘÁK.
STAV HOŘÁKU, KTERÝ JE DÍLEM NEJVÍCE VYSTAVENÝM
OPOTŘEBENÍ PRAVIDELNÉ KONTROLUJTE.
CHYBA VZHLED PŘÍČINA A NÁPRAVA
NEROVNÝ POVRCH
- Nedostatečná příprava
- Vyrovnejte hrany a držte jich v době bodového sváření
NADMĚRNÁ SÍLA
- Nulové napětí anebo příliš nízká rychlost sváření.
- Nesprávný sklon hořáku.
- Příliš veliký průměr drátu.
NEDOSTATEK KOVU
- Příliš vysoká rychlost sváření.
- Příliš nízké svářecí napětí pro svářecí práce.
ZOXIDOVANÁ HOUSENKA
- Při použití dlouhého oblouku svařujte v kanálu.
- Nastavte napětí.
- Drát se ohol anebo příliš vyčuhuje z trubky na vedení drátu.
- Nesprávná rychlost podávání drátu.
NEDOSTATEČNÉ PŘEVAŘENÍ
- Nesprávní sklon hořáku.
- Nesprávná anebo nedostatečná vzdálenost.
- Opotřebení trubky na vedení drátu.
- Příliš nízká rychlost podávání drátu pro použité napětí anebo rychlost sváření.
PŘÍLIŠNÉ PŘEVAŘENÍ
- Příliš vysoká rychlost podávání drátu.
- Nesprávní sklon hořáku.
- Nadměrná vzdálenost.
STUDENÝ SPOJ/NEPŘEVAŘENÉ
MÍSTO
- Příliš krátká vzdálenost.
- Zdrsněte anebo obruste svar, potom zopakujte.
TVORBA KANÁLKŮ
- Příliš vysoká rychlost sváření. (Tuto chybu může svářeč jednoduše rozpoznat
pohledem, a okamžitě napravit.)

Table of Contents

Related product manuals