EasyManua.ls Logo

Challenge EH-3D - Hydraulic Power Unit Assembly - H-356-4 Rev. B

Challenge EH-3D
52 pages
Print Icon
To Next Page IconTo Next Page
To Next Page IconTo Next Page
To Previous Page IconTo Previous Page
To Previous Page IconTo Previous Page
Loading...
9.0 Parts Lists & Schematics
48
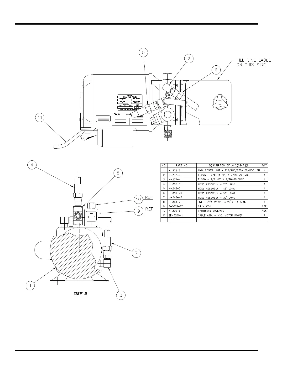
9.13 Hydraulic Power Unit Assembly H-356-4 Rev. B

Table of Contents

Related product manuals