EasyManua.ls Logo

Chamberlain SL600 - Instalación; Dimensiones del Operador; Preparar E Instalar la Placa de Montaje

Chamberlain SL600
56 pages
Print Icon
To Next Page IconTo Next Page
To Next Page IconTo Next Page
To Previous Page IconTo Previous Page
To Previous Page IconTo Previous Page
Loading...
8
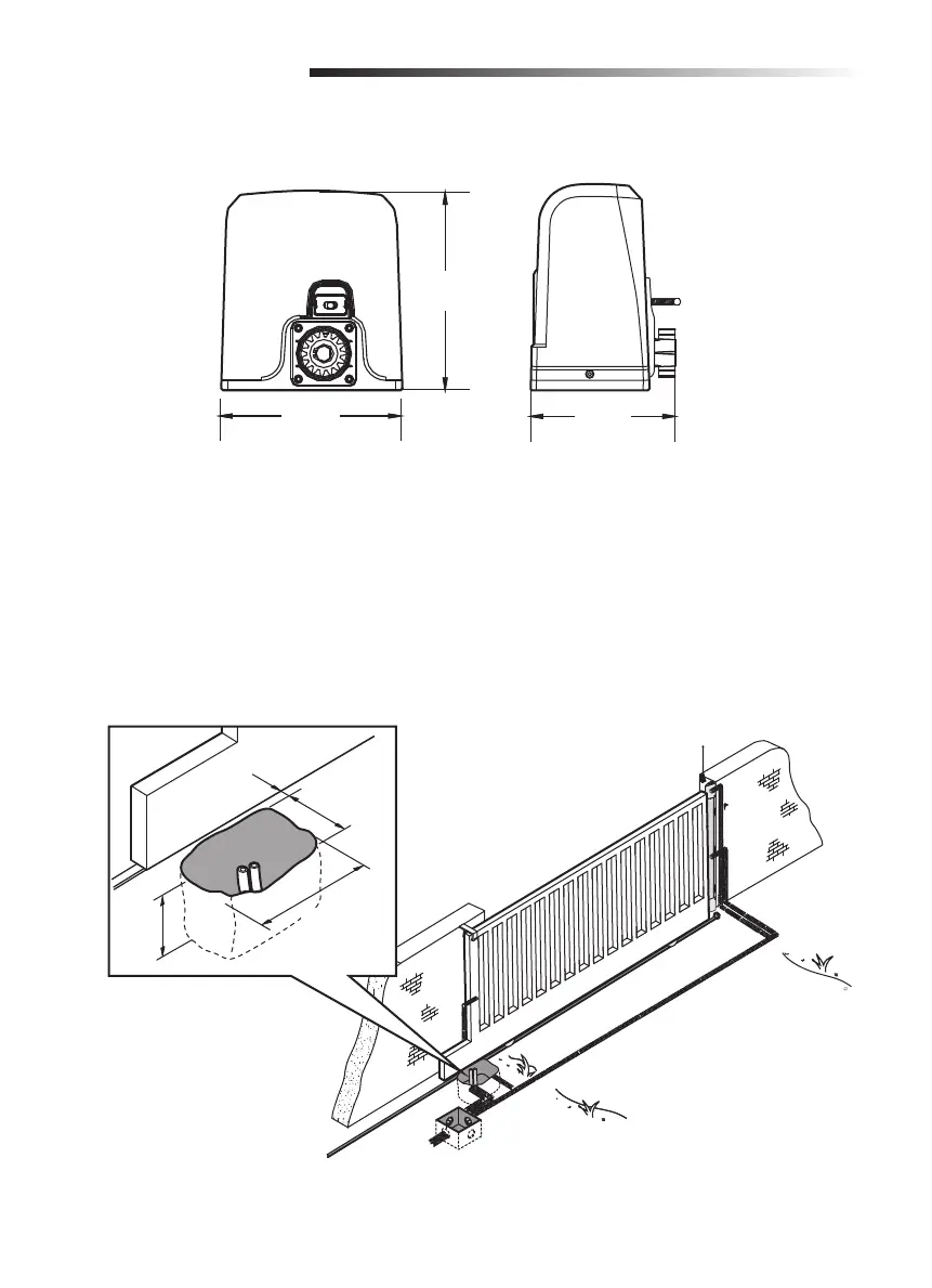
INSTALACIÓN
Dimensiones del operador
270 mm
294 mm
218 mm
3.98 cm
(1.57 pulg.)
23.97 cm
(9.44 pulg.)
30.47 cm
(12 pulg.)
39.97 cm
(15.74 pulg.)
Figura 1
Preparar e instalar la placa de montaje
Las instrucciones e ilustraciones en este manual se ofrecen como ejemplo ÚNICAMENTE. Cada
instalación puede variar según el espacio disponible, las obstrucciones y los accesorios utilizados. El
técnico de instalación debe encontrar la mejor solución.
1. Hacer un agujero a un lado del portón (Figura 1). La capa de concreto debe tener mayor espesor
que la profundidad de congelamiento. Consultar los códigos nacionales y municipales vigentes.

Table of Contents

Related product manuals