EasyManua.ls Logo

Chamberlain SL600 - INSTALLATION; Operator Dimensions; Mounting Plate Preparation

Chamberlain SL600
56 pages
Print Icon
To Next Page IconTo Next Page
To Next Page IconTo Next Page
To Previous Page IconTo Previous Page
To Previous Page IconTo Previous Page
Loading...
8
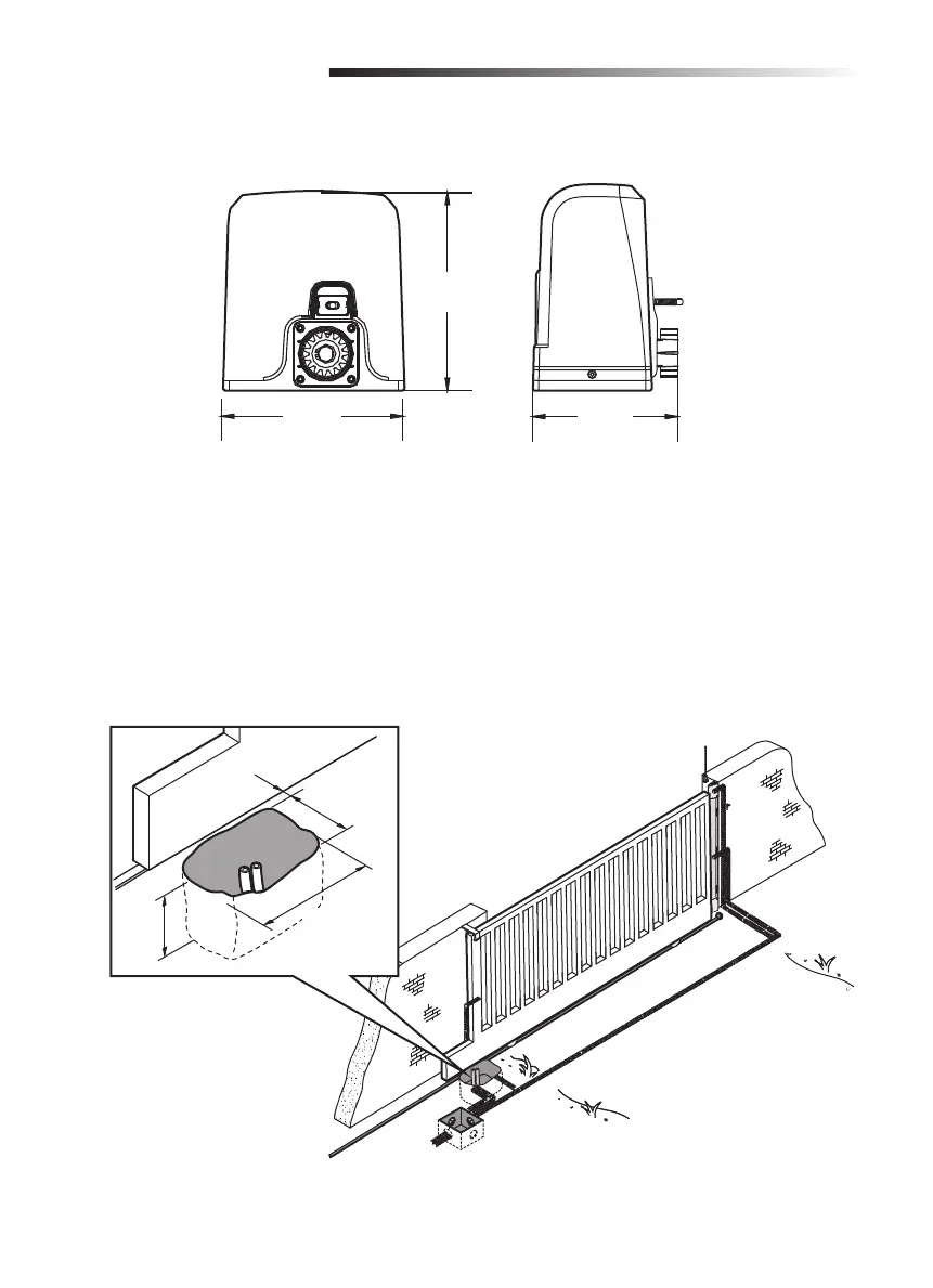
Operator Dimensions
270 mm
294 mm
218 mm
INSTALLATION
3.98 cm
(1.57")
23.97 cm
(9.44")
30.47 cm
(12")
39.97 cm
(15.74")
Figure 1
Prepare and Install the Mounting Plate
The instructions and illustrations in this manual are examples ONLY. Your installation may vary
depending on space, obstructions, and accessories. It is up to the installer to select the most suitable
solution.
1. Dig a hole to the side of the gate (Figure 1). The concrete pad should be deeper than the frost line.
Check all national and local codes.

Table of Contents

Related product manuals