EasyManua.ls Logo

Champion ci 40 - 11.0 GENERAL ASSEMBLY COMPONENTS - Ci 40; 55

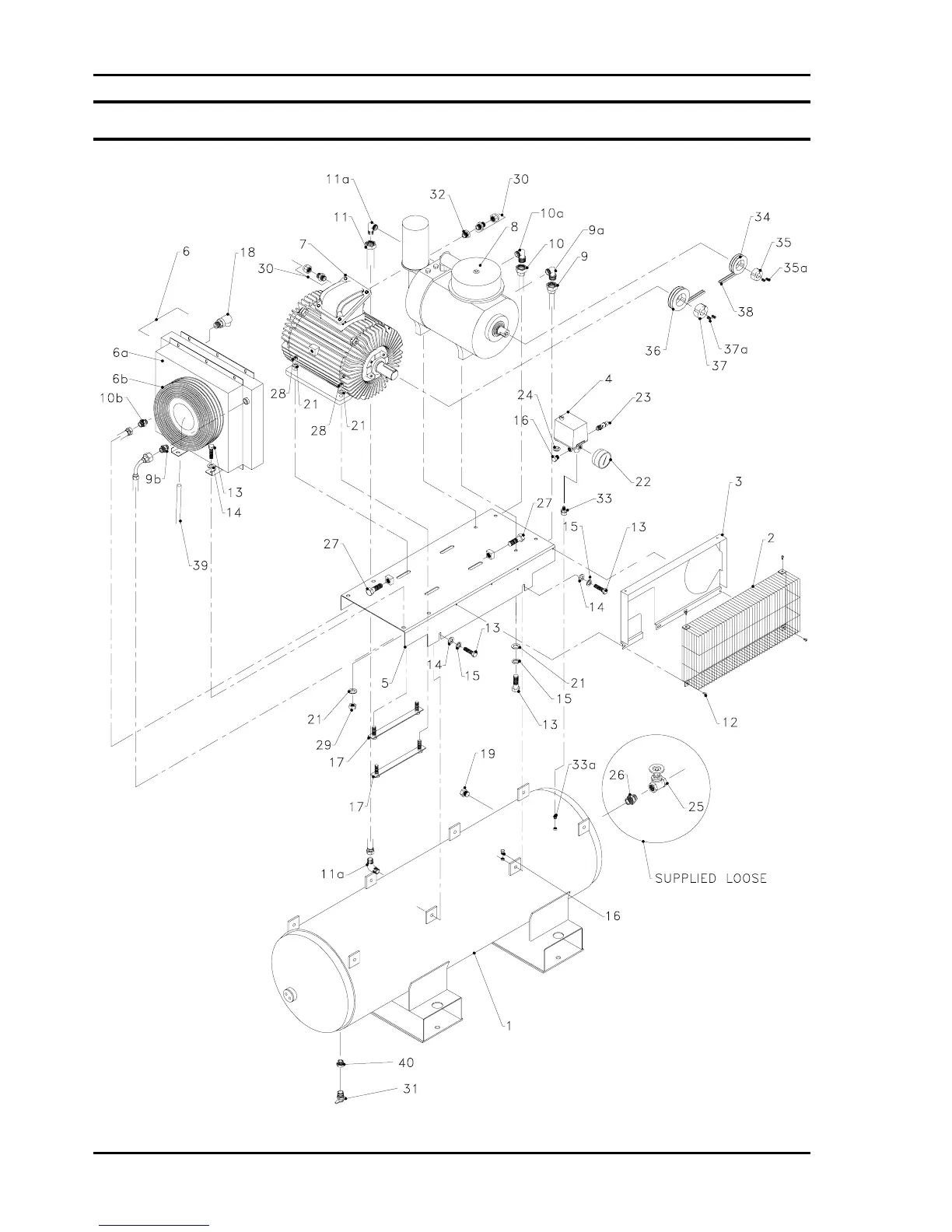
Champion ci 40
101 pages
Print Icon
To Next Page IconTo Next Page
To Next Page IconTo Next Page
To Previous Page IconTo Previous Page
To Previous Page IconTo Previous Page
Loading...
Champion Compressors Ltd. Manual No. 975203 Rev H
30
11.0 GENERAL ASSEMBLY COMPONENTS - Ci 40 / 55

Table of Contents

Related product manuals