EasyManua.ls Logo

COMBISAFE System Mk II - Assembly: Corner Post Alignment; Corner Post Insertion Marking Alignment

COMBISAFE System Mk II
46 pages
Print Icon
To Next Page IconTo Next Page
To Next Page IconTo Next Page
To Previous Page IconTo Previous Page
To Previous Page IconTo Previous Page
Loading...
Assembly Loading System MkII
22
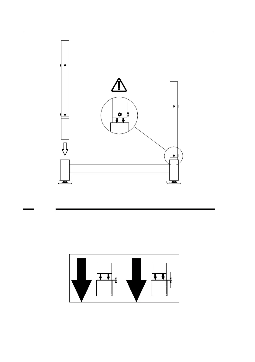
Figure 14. Insertion of the Corner Posts.
The lower edge of the Insertion Marking Label on the Corner Posts
must be aligned with the upper edge of the Bottom Frame Posts for
a safe and proper installation. See Figure 15 below for a closer
illustration of the label.
Figure 15. Close-Up of Insertion Marking Label.
NOTE