EasyManua.ls Logo

Control Techniques M'Ax 406 - Page 39

Control Techniques M'Ax 406
116 pages
Print Icon
To Next Page IconTo Next Page
To Next Page IconTo Next Page
To Previous Page IconTo Previous Page
To Previous Page IconTo Previous Page
Loading...
*
M’Ax User Guide 33
Issue Number: 4
5
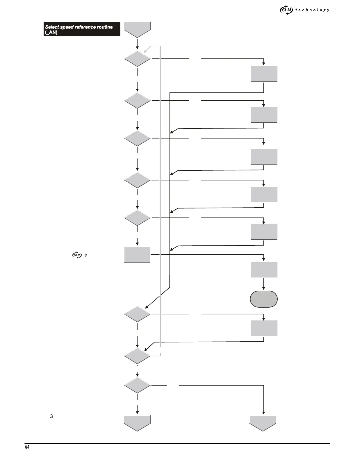
Go to routine.Starting
Set parameter
at . Set the speed
reference at the required value.
(If required, see
later in this chapter.)
0.30
1
Reference
selector
Calibrating the
Analog Input
1
Use the high-precision analog
input? (Version _ )
AN
2
Use the preset speed reference(s)?
3
NO
Y
ES
Use the keypad reference?
(ForsettinguptheDriveonly)
NO
4
Use pulse (frequency-and-direction
or quadrature) inputs?
NO
5
Control by serial communications?
NO
6
Control by
)
technology.
Set parameter
at any value.
Set parameter
at .
0.30
11.66
0
Reference
selector
Host mode
enable
The motion controller now has
full control of the Drive.
Set parameter
at any value.
0.30
Reference
selector
Set parameter
at .
0.30
5
Reference
selector
Set parameter
at .
Enter the required speed value
in parameter
0.30
4
0.34
Reference
selector
Keypad reference.
Set parameter
at .
Enter the required speed value
in parameter .
0.30
3
0.33
Reference
selector
Preset reference
Y
ES
7
Is the value of parameter
suitable?
0.08
Maximum speed clamp
Y
ES
Y
ES
Y
ES
8
Is the value of parameter
suitable?
0.04
Final speed reference
Adjust as required
N
O
N
O
NO
YES
YES
9
Are acceleration and/or
deceleration ramps required?
G
o to routine.Ramps
YES
NO
NONO

Table of Contents

Related product manuals