EasyManua.ls Logo

Custom Engineering KPM150H - Page 14

Custom Engineering KPM150H
112 pages
Print Icon
To Next Page IconTo Next Page
To Next Page IconTo Next Page
To Previous Page IconTo Previous Page
To Previous Page IconTo Previous Page
Loading...
B202H (standard models)
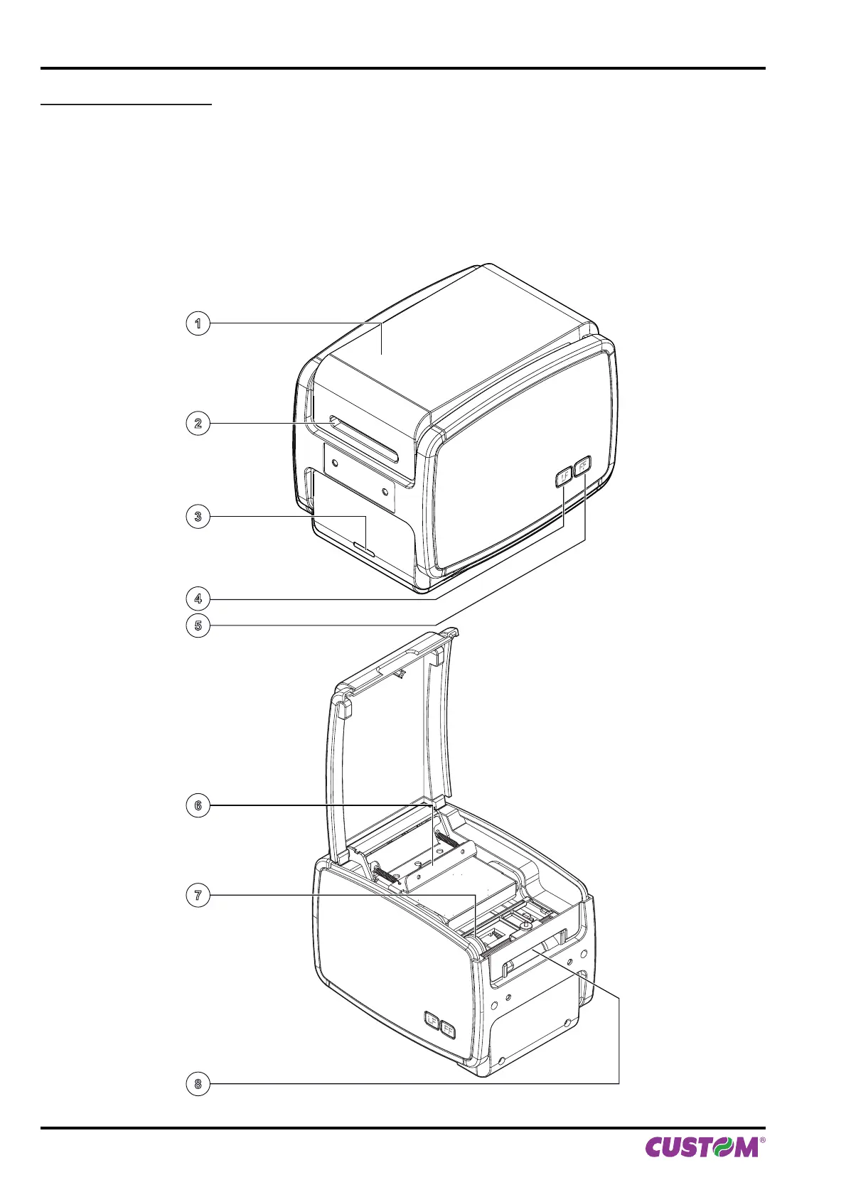
1 - Printer cover 5 - FORM FEED key
2 - Paper output 6 - Hook of printing head group
3 - Status led 7 - Lever of paper mouth guide (adjustable)
4 - LINE FEED key 8 - Paper input
LF
FF
6
7
8
LF
FF
LF
FF
1
3
2
4
5
2. DESCRIPTION
14 KPM150H-AERO User manual

Related product manuals