EasyManua.ls Logo

Custom Engineering KPM150H - Page 15

Custom Engineering KPM150H
112 pages
Print Icon
To Next Page IconTo Next Page
To Next Page IconTo Next Page
To Previous Page IconTo Previous Page
To Previous Page IconTo Previous Page
Loading...
B202H (models with RFID reader)
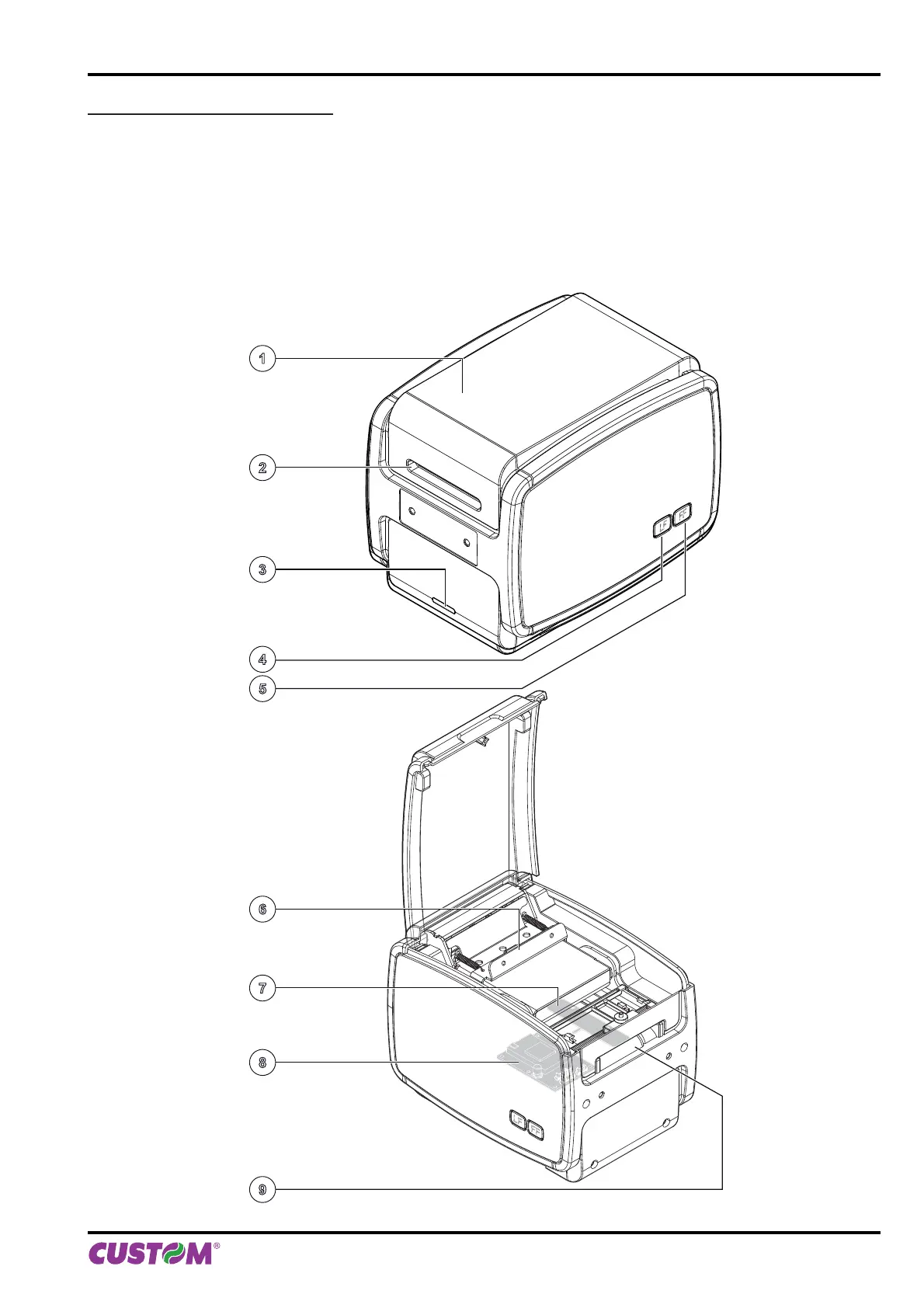
1 - Printer cover 6 - Hook of printing head group
2 - Paper output 7 - UHF RFID antenna
3 - Status led 8 - UHF RFID control board
4 - LINE FEED key 9 - Paper input
5 - FORM FEED key
LF
FF
LF
FF
1
3
2
4
5
FF
LF
6
9
8
7
2. DESCRIPTION
User manual KPM150H-AERO 15

Related product manuals