EasyManua.ls Logo

Datalogic DS4800 - Page 68

Datalogic DS4800
105 pages
Print Icon
To Next Page IconTo Next Page
To Next Page IconTo Next Page
To Previous Page IconTo Previous Page
To Previous Page IconTo Previous Page
Loading...
DS4800 REFERENCE MANUAL
5
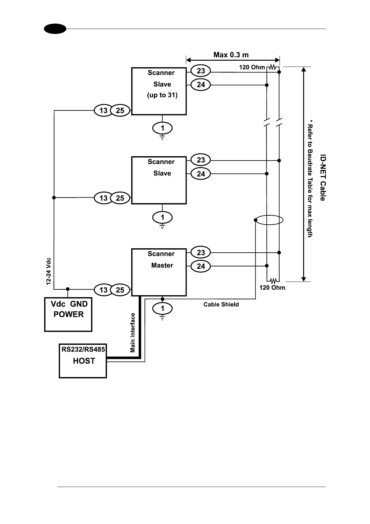
Figure 54 - ID-NET™ Network Connections with Common Power Branch Network
60

Table of Contents

Other manuals for Datalogic DS4800

Related product manuals