EasyManua.ls Logo

dbx DriveRack 482 - Page 75

dbx DriveRack 482
121 pages
Print Icon
To Next Page IconTo Next Page
To Next Page IconTo Next Page
To Previous Page IconTo Previous Page
To Previous Page IconTo Previous Page
Loading...
®
Network Functions/Funciones de red
Sect/Secc 7
DriveRack
63
DriveRack User Manual/Manual de instrucciones
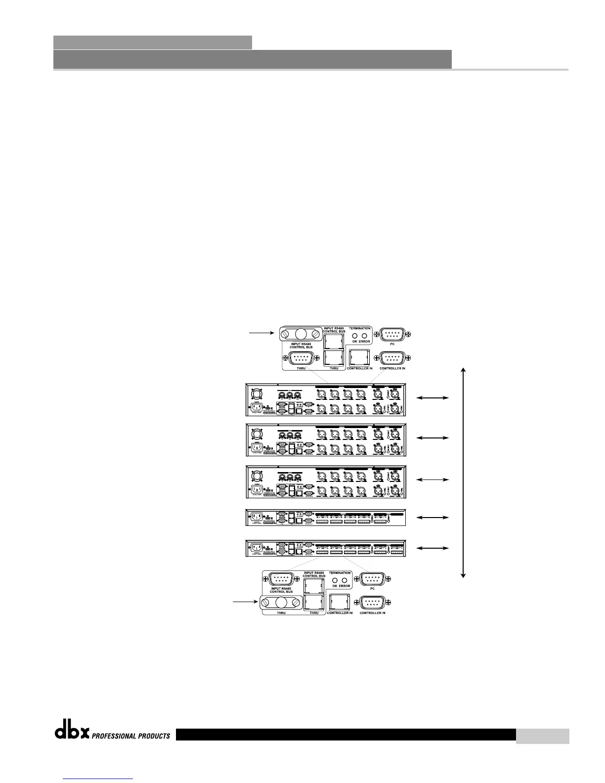
Termination:
In order to run your DriveRack™ system in the most effective and efficient
manner, it is recommended that you utilize the included network
terminator connectors. These terminator connectors essentially limit the
networking information from the beginning to the ending of the Back bone
network.
The following illustration indicates that the first termination connector be
placed in the DB-9 control bus input of the first unit in the Back bone
network system. Use this connector regardless of whether you are using
DB-9 or RJ-45 connectors.
The ending termination connector should be connected to the THRU
control bus connector of the last unit in the Back bone network.
Terminación:
Para que su sistema DriveRack™ funcione de la forma más efectiva y
directa, recomendamos que utilice los conectores de terminación de red
que también se adjuntan. En esencia, estos terminadores limitan la
información de red desde el principio hasta el final de un sistema de red
principal.
La siguiente ilustración indica que el primer terminador ha de ser
colocado en la entrada de bus de control DB-9 de la primera unidad en
el sistema de red principal. Use este conector independientemente de
que esté usando conectores DB-9 o RJ-45.
El terminador final debe ser conectado a la clavija de bus de control
THRU de la última unidad de la red principal o backbone.
Terminator
End
Final del
terminador
Terminator
Begin
Principio
del terminador
RS 485 In
RS 485 Thru
RS 485 In
RS 485 Thru
RS 485 In
RS 485 Thru
RS 485 In
RS 485 Thru
RS 485 In
RS 485 Thru

Table of Contents

Other manuals for dbx DriveRack 482

Related product manuals