EasyManua.ls Logo

Design Analysis H-522 - To 20 Milliamp Output

Default Icon
272 pages
Print Icon
To Next Page IconTo Next Page
To Next Page IconTo Next Page
To Previous Page IconTo Previous Page
To Previous Page IconTo Previous Page
Loading...
XL™ Series Hardware Options and Installation 2-11
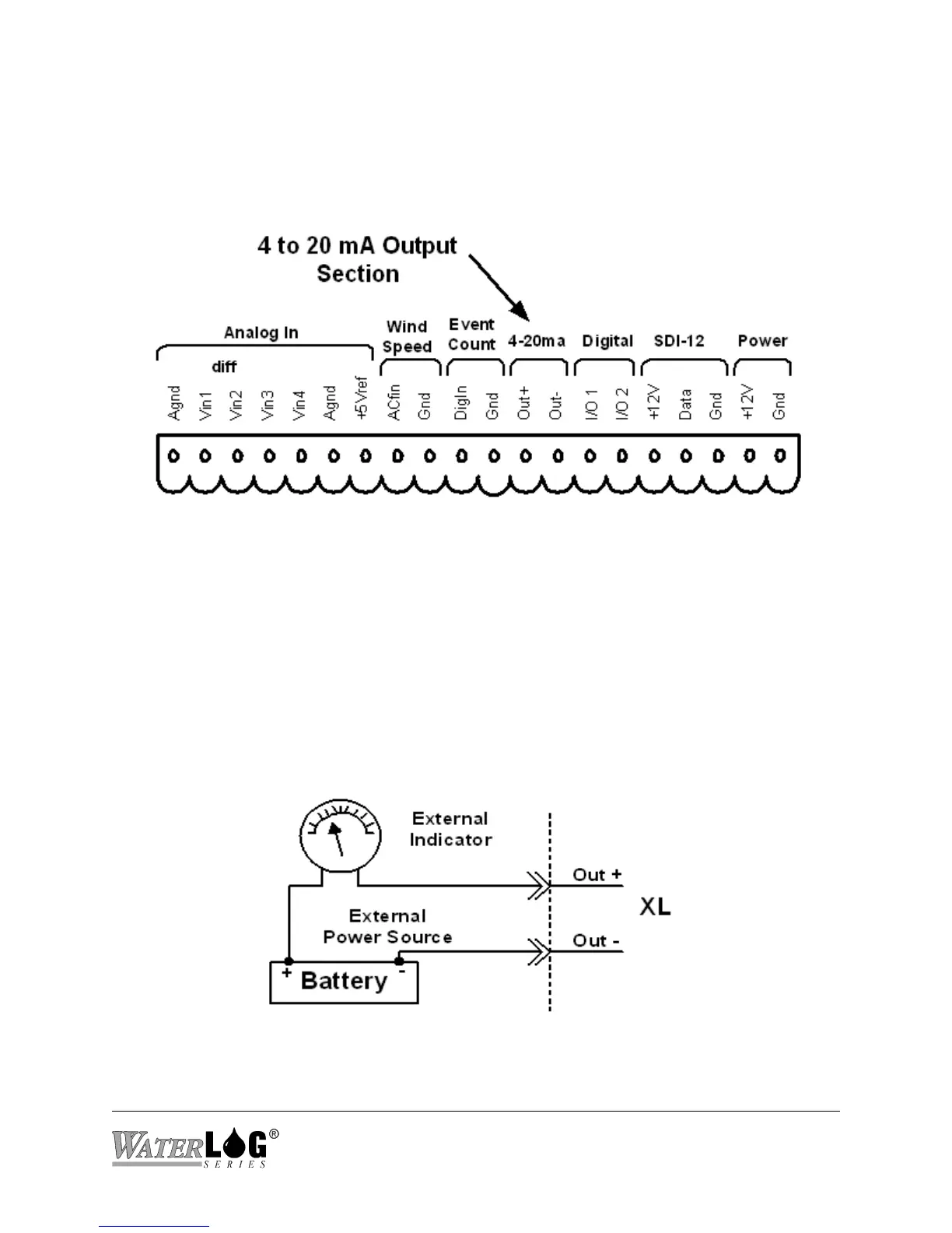
Figure 2-10 4 to 20mA Output Section
2.2.11 4 to 20 Milliamp Output
Pins 12 and 13 of the terminal block provide connection points for the 4 to 20 milliamp output
signal.
Several instrumentation applications use sensors that provide an industry standard 4 to 20
milliamp output signal. The XL™ Series data logger / DCP can output a 4 to 20 milliamp signal
based on any of its inputs. For example, a user may want to connect a temperature probe to the
XL™ and convert the temperature value into a 4 to 20 milliamp output. A temperature probe on
Analog Channel 1 that produces a 0 to 5 volt output representing 0 to 100 degrees Celsius could
easily be setup to produce a 4 to 20 milliamp output that represents the 0 to 100 degrees. The
XL™ does not actually output a 4 to 20 milliamp signal, but rather controls the current in a loop
that is powered externally. Figure 2-11 shows a basic connection diagram.
Figure 2-11 Basic 4-20 mA Wiring Configuration

Table of Contents

Related product manuals