EasyManua.ls Logo

Dixie DN720P - TROUBLESHOOTING FLOWCHARTS - LIGHTING ISSUES; Lights Are Not On

Dixie DN720P
100 pages
Print Icon
To Next Page IconTo Next Page
To Next Page IconTo Next Page
To Previous Page IconTo Previous Page
To Previous Page IconTo Previous Page
Loading...
TROUBLESHOOTING FLOWCHARTS P SERIES
Page 46 of 100
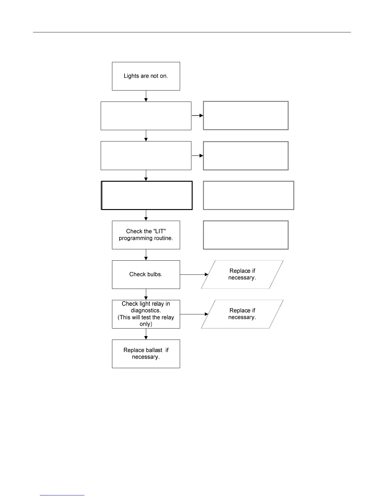
LIGHTS ARE NOT ON
Is Power Switch
Illuminated?
Turn “ON”
Replace if necessary.
Check the wiring from the
Ballast to the Lamp Sockets.
Check the wiring from the
Power Distribution to the
lighting.
Check Orange Wire
connections from the SBC to
the Power Distribution Box.
Not using Light Control.
“Enable” – “Off”

Table of Contents