EasyManua.ls Logo

Dixie DN720P - TROUBLESHOOTING FLOWCHARTS - SOLD OUT INDICATIONS; Sold Out Indicator Issue

Dixie DN720P
100 pages
Print Icon
To Next Page IconTo Next Page
To Next Page IconTo Next Page
To Previous Page IconTo Previous Page
To Previous Page IconTo Previous Page
Loading...
TROUBLESHOOTING FLOWCHARTS P SERIES
Page 48 of 100
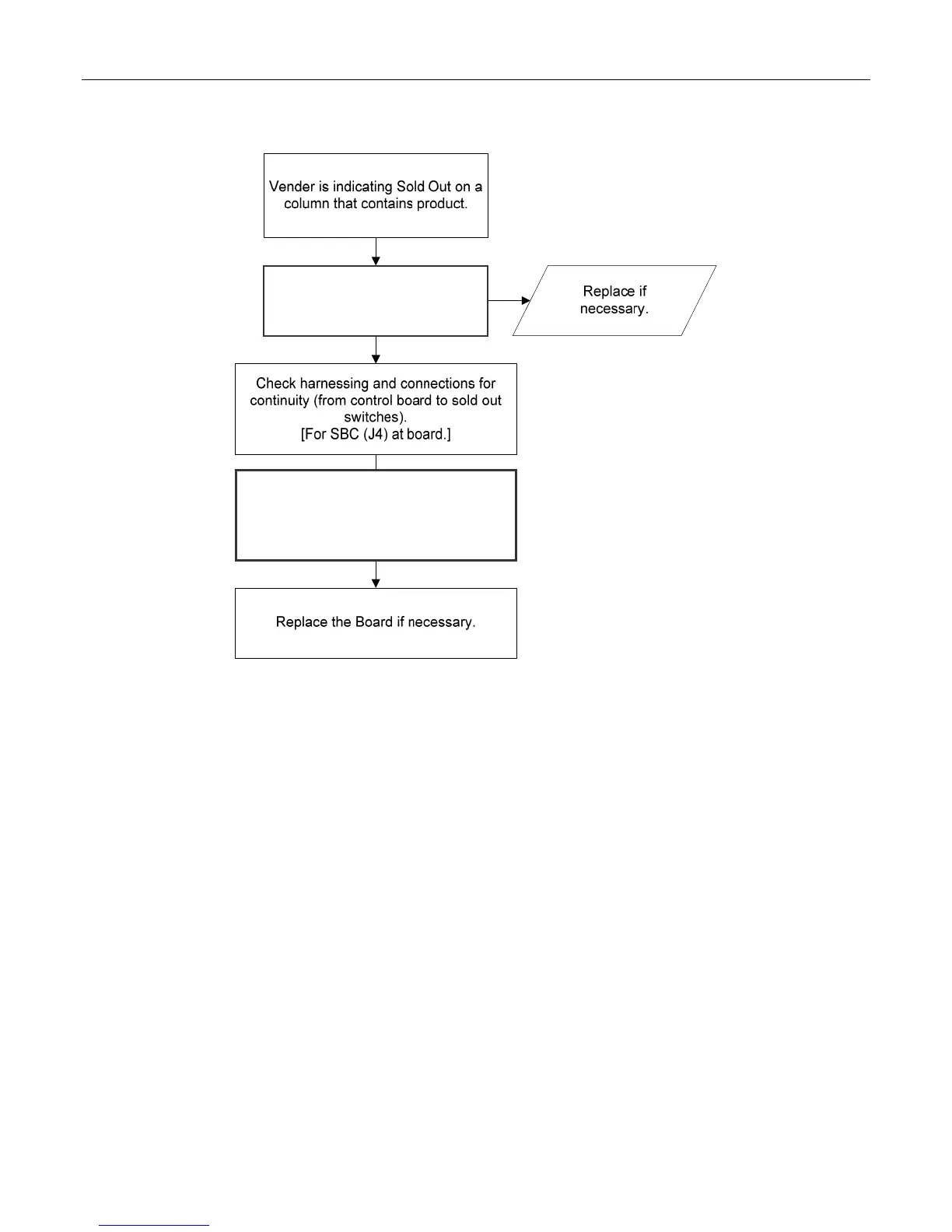
SOLD OUT
Check Vend Sensor.
Check harnessing and connections
for continuity ( from control board to
the Vend Sensor )
( For SBC (J4 on Control Board )

Table of Contents