EasyManua.ls Logo

Dunkirk DCC-150 - Installation and Check-Out Certificate

Dunkirk DCC-150
117 pages
Print Icon
To Next Page IconTo Next Page
To Next Page IconTo Next Page
To Previous Page IconTo Previous Page
To Previous Page IconTo Previous Page
Loading...
7
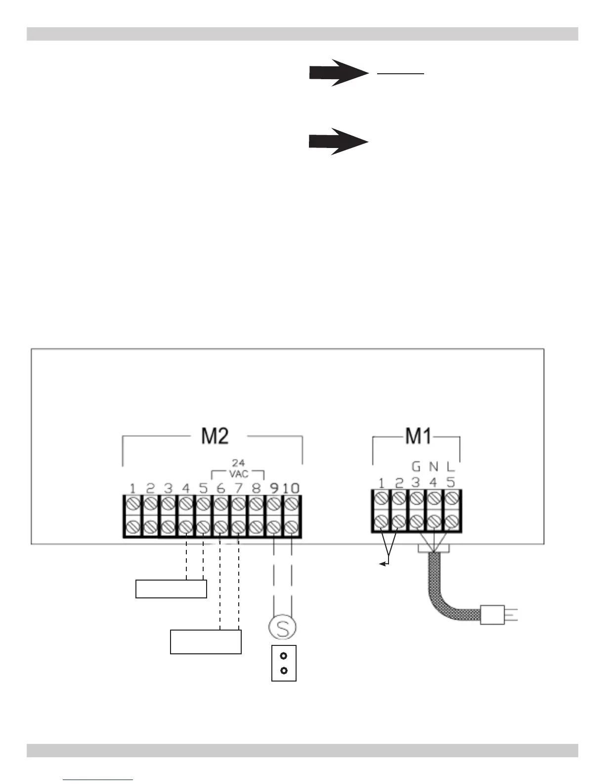
GENERAL INFORMATION - WIRING
Electical Wiring Information:
All field wiring shall conform to the authority having
jurisdiction or, in the absence of such requirements to:
USA: National Electrical Code, ANSI/NFPA 70,
Canada: Canadian Electrical Code, Part I, CSA
C22.1: Safety Standard for Electrical Installations.
Wiring diagrams shown in this manual utilize the ARGO™
Universal Control, the optional use of an Indirect Domestic
Hot Water Tank, and optional use of a H2O Buffer Tank.
Reference the zone control manufacturer instruction
manual for control operation and priority sertting of DHW
zones.
Note
DO NOT use 120 V thermostat
terminals (m1- #1 and #2).
Provided Wiring and Piping illustrations
are meant to show system concepts only.
Installer is responsible for all equipment
required by authority having jurisdiction.
Note
SUPPLY Cord
120V/60HZ
BOILER CONTROL
DHW Indirect
Tank Sensor
or
DHW Indirect
Tank Aquastat
(Heating Only
Boilers
Do Not
Use
Outdoor Reset
Zone Control
T-Stat
PN 240011430 REV G, [03/31/18]

Table of Contents

Other manuals for Dunkirk DCC-150

Related product manuals