EasyManua.ls Logo

EasyDrive MINI-L-2S0015M - Wiring of Main Circuit Terminal

Default Icon
161 pages
Print Icon
To Next Page IconTo Next Page
To Next Page IconTo Next Page
To Previous Page IconTo Previous Page
To Previous Page IconTo Previous Page
Loading...
CV3100 series and MINI series high performance general purpose inverter instruction manual
3-3
3Only the qualified professional who has been trained and authorized can
perform the wiring operation.
4 Please pay attention that before energizing, check whether the voltage class
of inverter is identical with the supply voltage, otherwise, it would result in
person casualty and damage of device.
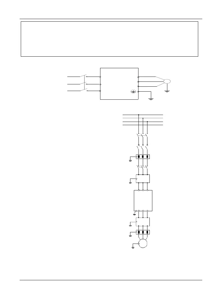
3.4 Wiring of main circuit terminal
M
R
S
T
U
V
W
CV3100
Power
Circuit
breaker
Diagram 3-3 Simple wiring of main circuit
3.4.1 Connection of inverter and option
(1) Between power grid and inverter,
breaking equipment like isolating
switch shall be installed for human
safety and compulsive power cutting
during maintaining the device.
(2) The supply circuit of inverter must be
mounted with the fuse or circuit
breaker with over current protection, to
avoid the spread of fault.
(3) When the power supply quality of
power grid is not quite high, an AC
input reactor shall be mounted
additionally. The AC reactor also can
improve the power factor of input side.
(4) The contactor is only for control of
power supply.
Diagram 3-4 Connection of inverter and option
E
R
S
T
N
CV3100
UVW
R S T
M
Input EMI filter (optional)
Contactor
AC input reactor (optional)
Circuit breaker
Isolating switch
AC output reactor (optional)
Output EMI filter (optional)

Table of Contents

Related product manuals