EasyManua.ls Logo

eka EKF 523 NT - Water Drain for Tabletop Ovens; Steam Drain; User Instructions; Ignition

eka EKF 523 NT
28 pages
Print Icon
To Next Page IconTo Next Page
To Next Page IconTo Next Page
To Previous Page IconTo Previous Page
To Previous Page IconTo Previous Page
Loading...
9
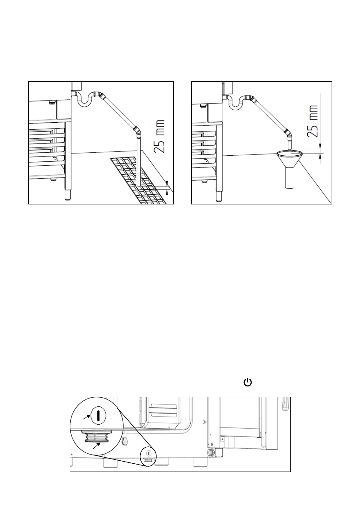
2.10.1 Water drain for tabletop ovens
The exhaust pipe can be conveyed to an open (grilled) floor drain (Fig.4); otherwise, between the drain pipe
of the appliance and the drain point with a "collection cup" (Fig. 5), there must be a height difference of
at least 30 cm in order to facilitate regular flow of water. In any case, the "air gap" (distance between the
drain pipe from the appliance and the open drain or the “collection vessel” of the drain duct pipe) must be
at least 25 mm.
Wall-mounted discharge is also allowed as long as the drain pipe maintains the steady slope of 4-5%.
Fig. 4 Fig. 5
2.11 Steam drain
The appliance is equipped with a special metal pipe (DN30) for the discharge of steam from the cooking
chamber.
No other type of pipe can be connected to this pipe, which protrudes from the back of the casing.
Failure to comply with this specific prohibition shall relieve the Manufacturer from any liability concerning
the potential malfunction of the appliance and poor cooking quality.
Increasing the length of the original drain hose may result in the formation of abnormal "condensation" in
the cooking chamber.
To prevent steam from escaping from the exhaust pipe, place the appliance under the extractor hood, or
connect it to the "TECNOEKA" extractor hood/condensing hood, specific for the appliance model used.
3. USER INSTRUCTIONS
3.1 Ignition
The oven has an “ON/OFF” key to electrically power the electronic control board and to activate its
operating functionality (Fig. 1).
The key (A) is not directly visible as it is located under the oven base; an identification plate (B) indicates its
presence.
To activate the oven function, set the key to “ON“.
For the first 10 seconds, the display shows the “computer codes” of the electronics that manage the oven,
then the “Date and Time”, the “EKA” logo and the symbol are highlighted .
Fig. 1
B
A

Table of Contents

Related product manuals