EasyManua.ls Logo

ENSONIQ SQ-80 - Page 188

ENSONIQ SQ-80
220 pages
To Next Page IconTo Next Page
To Next Page IconTo Next Page
To Previous Page IconTo Previous Page
To Previous Page IconTo Previous Page
Loading...
SQ-80 — Musician's Manual
-> Press
*YES*. The Display reads "ACCESSING DISK DRIVE,.," while the data is being
Loaded. Once the data is in memory, the following screen appears:
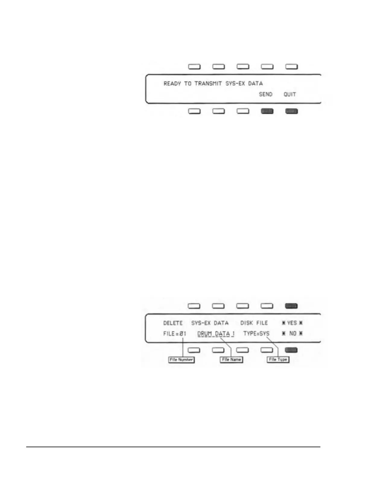
-> Press
SEND to transmit the
data. The Display reads "MIDI
DATA BEING TRANS-
FERRED" and then returns to
same page, ready to send the
data again if necessary.
-> Check the Receiving Instru-
ment
(
s
)
to see that the data was
received correctly. If it wasn't, make sure that:
the MIDI connections are correct
(SQ-80's MIDI Out to the Receiving device's MIDI In),
the receiving device(s) is enabled to receive System Exclusive messages,
the receiving device(s) is set to the same MIDI Channel(s) as when the data was initially
sent to the
SQ-80.
Then press
SEND again, and the data will be transmitted again. You can keep repeating this until
the data has been successfully received by the remote device(s).
-> Once the data has been successfully transmitted, press
QUIT. The Display flashes a note to
remind you that the Sequencer has been reinitialized (all Songs and Sequences erased) and
returns you to the Storage Page.
DELETING Sys-Ex Files from the Disk
Sys-Ex Files are deleted in the same way as ONE SEQ and ALL SEQ files, except that you must specify
SYS-EX after selecting DELETE from the Disk Storage menu.
To Delete a SYS-EX File from the disk:
Insert the disk containing the Sys-Ex data into the Disk Drive.
-> Press the
Storage button to select the Storage Page.
-> Press
DISK. The Disk Storage menu appears.
•> Press
DELETE. The disk drive light goes on briefly and the Display says "READING
DIRECTORY FROM DISK." Then the Disk Delete Menu appears.
-> Press
SYS-EX. The following Display appears:
-> Use the Data Entry Slider and
the Up and Down Arrow but-
tons to scroll through the ten
Sequencer/Sys-Ex Blocks on
the disk. When you Delete a
file, its File Type (TYPE=—)
must match the type that you
selected in the previous step —
in this case, the type must be
SYS.
•> Find the Sys-Ex File you want to Delete. Again, its File Type must be SYS. If there are no files
of this type on the disk, press *NO* to exit to the Storage Page. Once the file you want is showing
on the Display...
-> Press
*YES*. The Display briefly reads "ACCESSING DISK DRIVE..." and then returns to the
Storage Page. The file is Deleted and the Sequencer/Sys-Ex Block it occupied on the disk is now
available.
Or Press
*NO* to cancel the procedure for any reason.
176 Section 6 — Data Storage

Table of Contents

Other manuals for ENSONIQ SQ-80

Related product manuals