EasyManua.ls Logo

Entes MPR-45 - Page 24

Entes MPR-45
65 pages
Print Icon
To Next Page IconTo Next Page
To Next Page IconTo Next Page
To Previous Page IconTo Previous Page
To Previous Page IconTo Previous Page
Loading...
24
BUTTON NAME
SET
BUTTON NAME
DISPLAYED MEASUREMENT SCREEN
SET
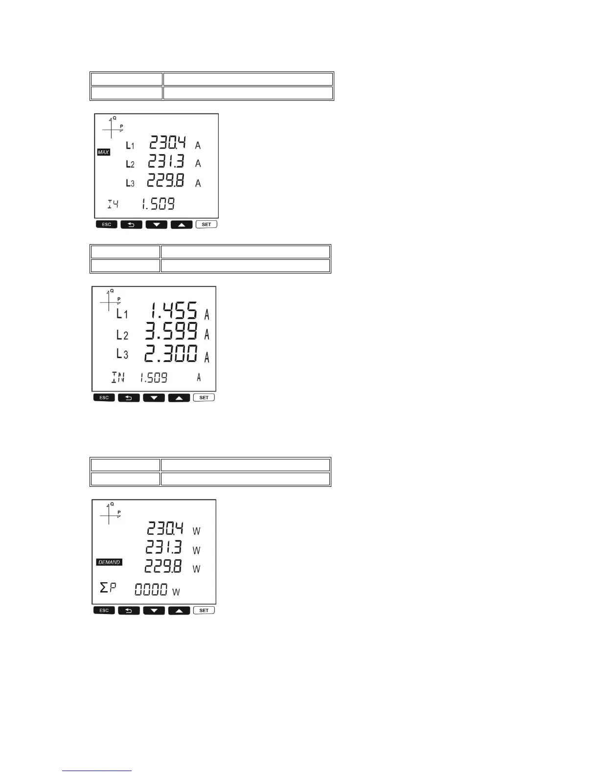
MIN I
To see the minimum, maximum and demand values of power parameters, first select the relevant screen
with “P PF” button.
Afterwards, you can display the following screens with MAX/MIN DEMAND.
BUTTON NAME
DISPLAYED MEASUREMENT SCREEN
SET
DEMAND P

Related product manuals