EasyManua.ls Logo

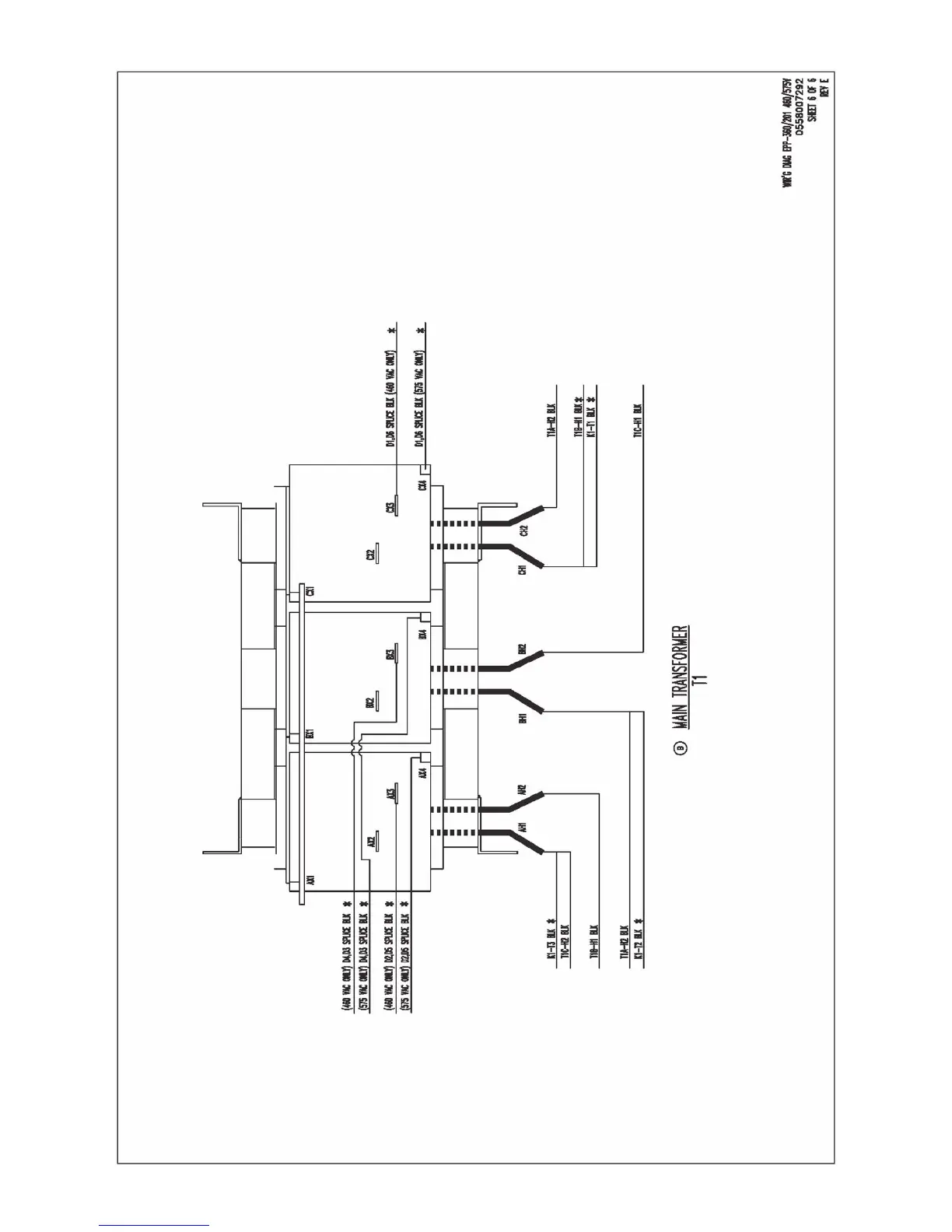
ESAB EPP-360 - Main Transformer Diagram

ESAB EPP-360
64 pages
Print Icon
To Next Page IconTo Next Page
To Next Page IconTo Next Page
To Previous Page IconTo Previous Page
To Previous Page IconTo Previous Page
Loading...
-62-
bp12s

Related product manuals