EasyManua.ls Logo

eschmann SES2000 VAC LS3 - Fig.2.5 Sterilizing System Schematic Diagram

eschmann SES2000 VAC LS3
56 pages
Print Icon
To Next Page IconTo Next Page
To Next Page IconTo Next Page
To Previous Page IconTo Previous Page
To Previous Page IconTo Previous Page
Loading...
Part 2 SES 2000 Vac (LS3) AUTOCLAVE
Page 16 of 53 ST-SM45g
PART 2 DESCRIPTION
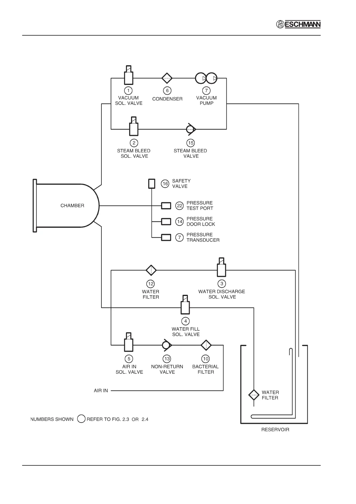
Fig. 2.5 Sterilizing System Schematic Diagram

Table of Contents

Related product manuals