EasyManua.ls Logo

Festo MPA Series - Page 89

Festo MPA Series
218 pages
Print Icon
To Next Page IconTo Next Page
To Next Page IconTo Next Page
To Previous Page IconTo Previous Page
To Previous Page IconTo Previous Page
Loading...
3. Installation
3−15
Festo P.BE−MPA−EN en 0910d
ÖÖÖÖ
ÖÖÖÖ
ÖÖÖÖ
ÎÎÎÎ
ÖÖÖÖÖ
ÖÖÖÖÖ
ÎÎÎÎÎ
ÖÖÖÖ
ÎÎÎÎ
ÖÖÖÖ
ÖÖÖÖ
ÎÎÎÎ
1
234
5
67
(12/14)
(1)
(1) (1)
(3/5) (3/5)
(3/5)
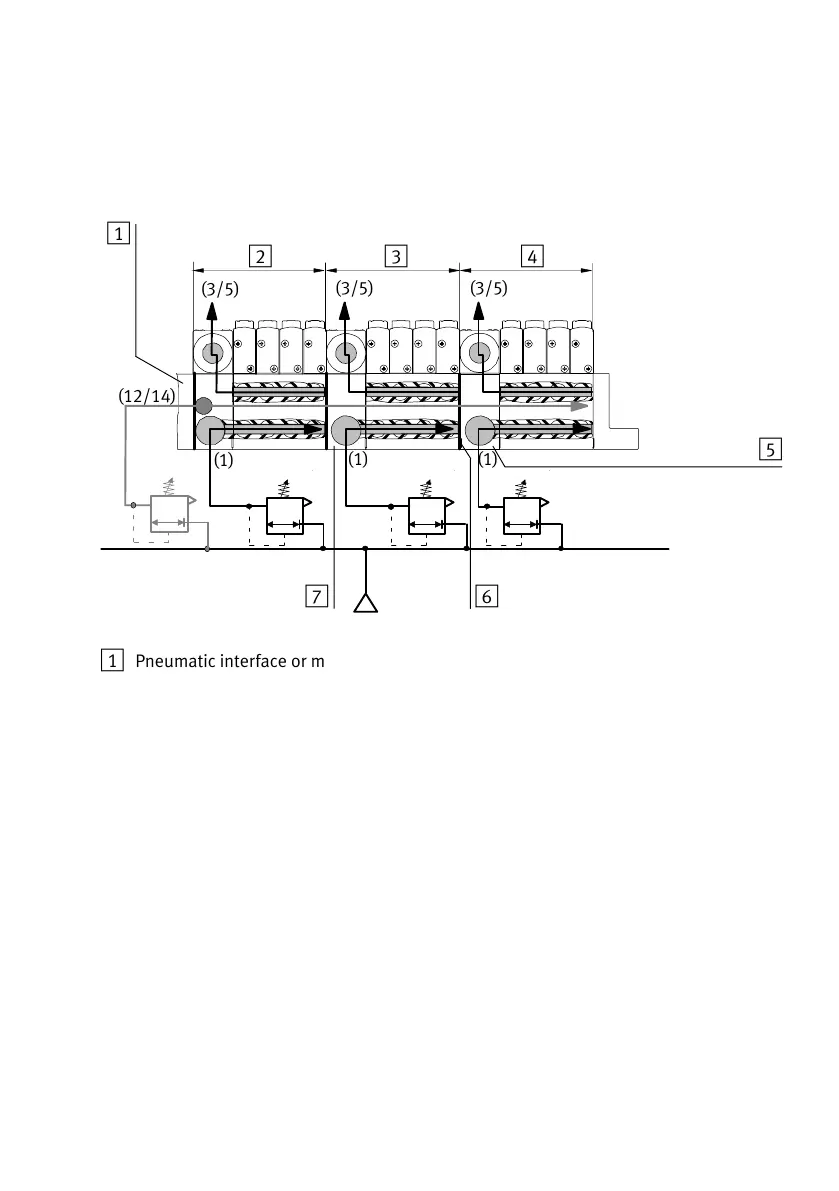
1 Pneumatic interface or multiple
connector plate with supply port (1)
for pressure zone 1 and pilot
connection (12/14) for the complete
valve terminal
2 Pressure zone 1
3 Pressure zone 2
4 Pressure zone 3
5 Air supply plate for pressure zone 3
6 Identification of the pressure zone
separating seal (projecting flag)
7 Air supply plate for pressure zone 2
Fig.3/3: Example of MPA−S valve terminal with 3 pressure zones

Table of Contents

Related product manuals